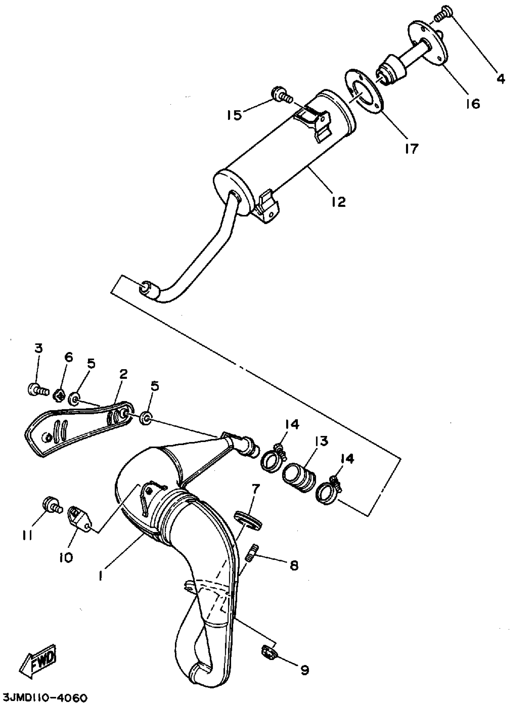
Yamaha YFS200G (BLASTER) 1995 EXHAUST Diagram
#
Description
Price
1
EXHAUST PIPE ASSY 1
2XJ-14610-00-00
Unavailable
2
PROTECTOR, MUFFLER 1
2XJ-14718-00-00
Unavailable
12
SILENCER, EXHAUST
2XJ-14753-00-00
Unavailable
14
CLAMP, HOSE
90460-37130-00
Unavailable
16
PIPE, OUTLET
2XJ-14752-00-00
Unavailable
17
GASKET, SILENCER
2XJ-14755-10-00
Unavailable
