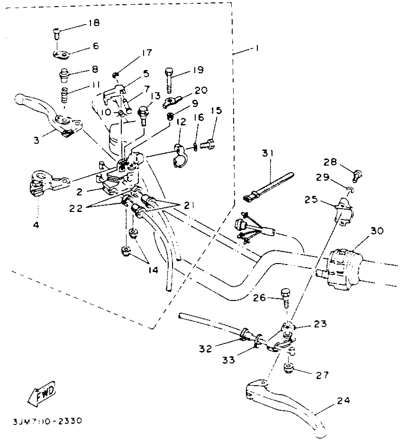
Yamaha YFS200E (BLASTER) 1993 HANDLE SWITCH LEVER Diagram
#
Description
Price
1
LEVER HOLDER ASSY (R)
3JM-82920-01-00
Unavailable
2
. HOLDER, LEVER 2
3GH-82921-01-00
Unavailable
4
. LEVER 1
3GH-83912-00-00
Unavailable
5
. LEVER, LOCK
3JM-83965-00-00
Unavailable
6
COVER
1UY-83935-00-00
Unavailable
8
PIN, LOCK 1
1UY-83967-00-00
Unavailable
10
SPRING, RETURN
3GH-83966-00-00
Unavailable
12
HOLDER, LEVER LOWER 1
2XJ-82913-00-00
Unavailable
16
WASHER, SPRING
92907-06100-00
Unavailable
17
RING, SNAP
3FA-26466-00-00
Unavailable
18
SCREW, PAN HEAD(3AC)
98517-03008-00
Unavailable
19
BOLT, FLANGE
95817-06040-00
Unavailable
20
PLATE, STOPPER
3JM-8331L-10-00
Unavailable
21
BOLT
90123-08002-00
Unavailable
22
NUT
90179-08030-00
Unavailable
23
H0LDER, LEVER 1
38V-82911-00-00
Unavailable
24
LEVER 1
1NV-83912-02-00
Unavailable
25
H0LDER, LEVER L0WER 1
38V-82913-00-00
Unavailable
26
BOLT (2YK1)
90109-06799-00
Unavailable
28
SCREW, PAN HEAD(4MY)
98507-05018-00
Unavailable
29
WASHER(3SX)
92907-05100-00
Unavailable
30
SWITCH, HANDLE 2
2XJ-83975-09-00
Unavailable
31
BAND, SWITCH CORD
437-83936-01-00
Unavailable
32
BOLT
90123-08002-00
Unavailable
33
NUT
90179-08030-00
Unavailable
