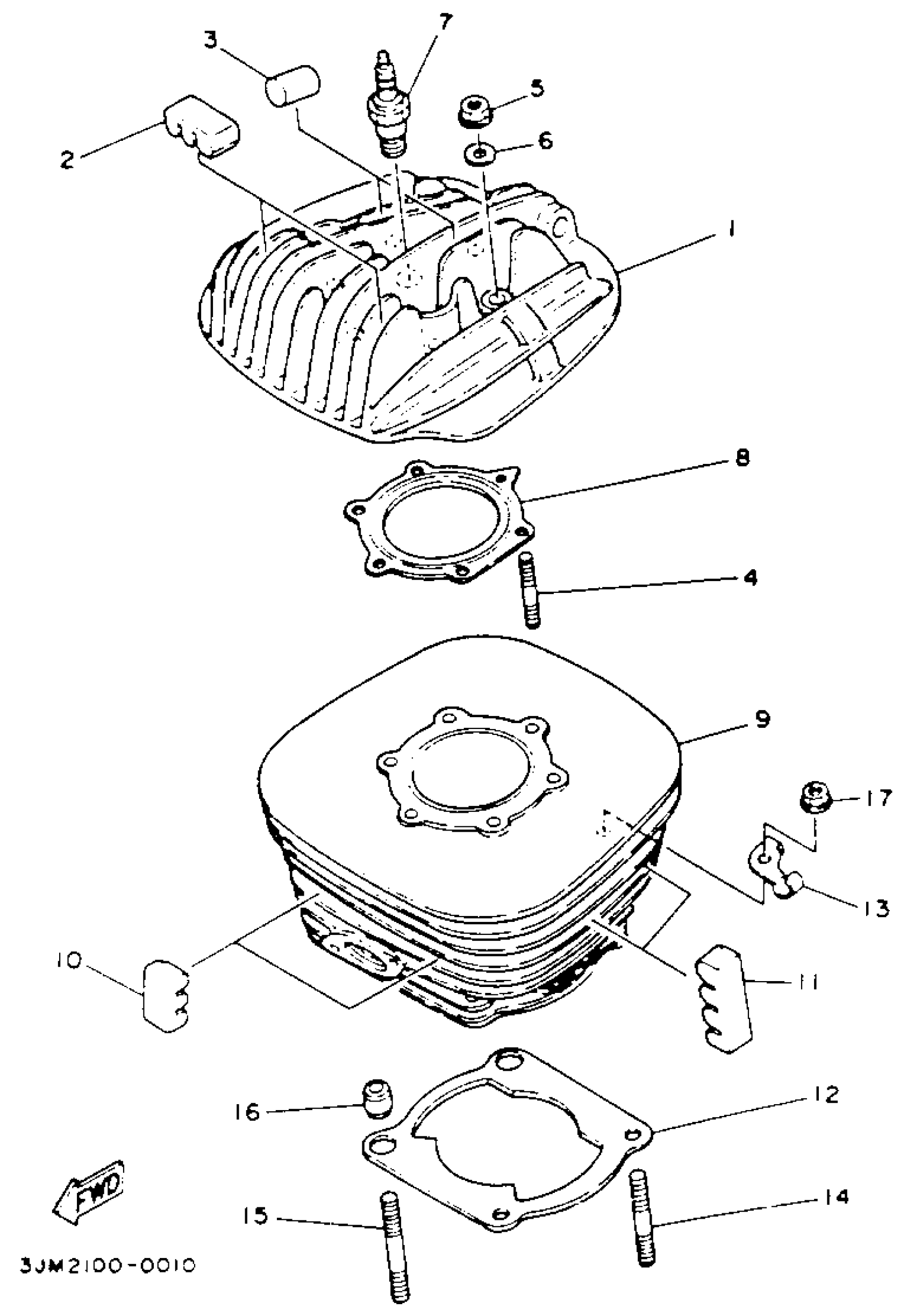
Yamaha YFS200E (BLASTER) 1993 CYLINDER Diagram
#
Description
Price
2
ABSORBER 2
3R9-11162-00-00
Unavailable
3
ABSORBER 3
576-11127-00-00
Unavailable
7
BR8ES NGK SCREW TOP 4PK
BR8-ES000-00-00
Unavailable
9
CYLINDER 1
2XJ-11311-02-00
Unavailable
10
ABSORBER 2
3R9-11162-00-00
Unavailable
11
ABSORBER 2
3R6-11162-00-00
Unavailable
16
PIN, DOWEL(3VD)
99530-10114-00
Unavailable
17
NUT(55X)
90179-08491-00
Unavailable
