Yamaha YFS200D_MNH (BLASTER) 1992 TAILLIGHT Diagram
#
Description
Price
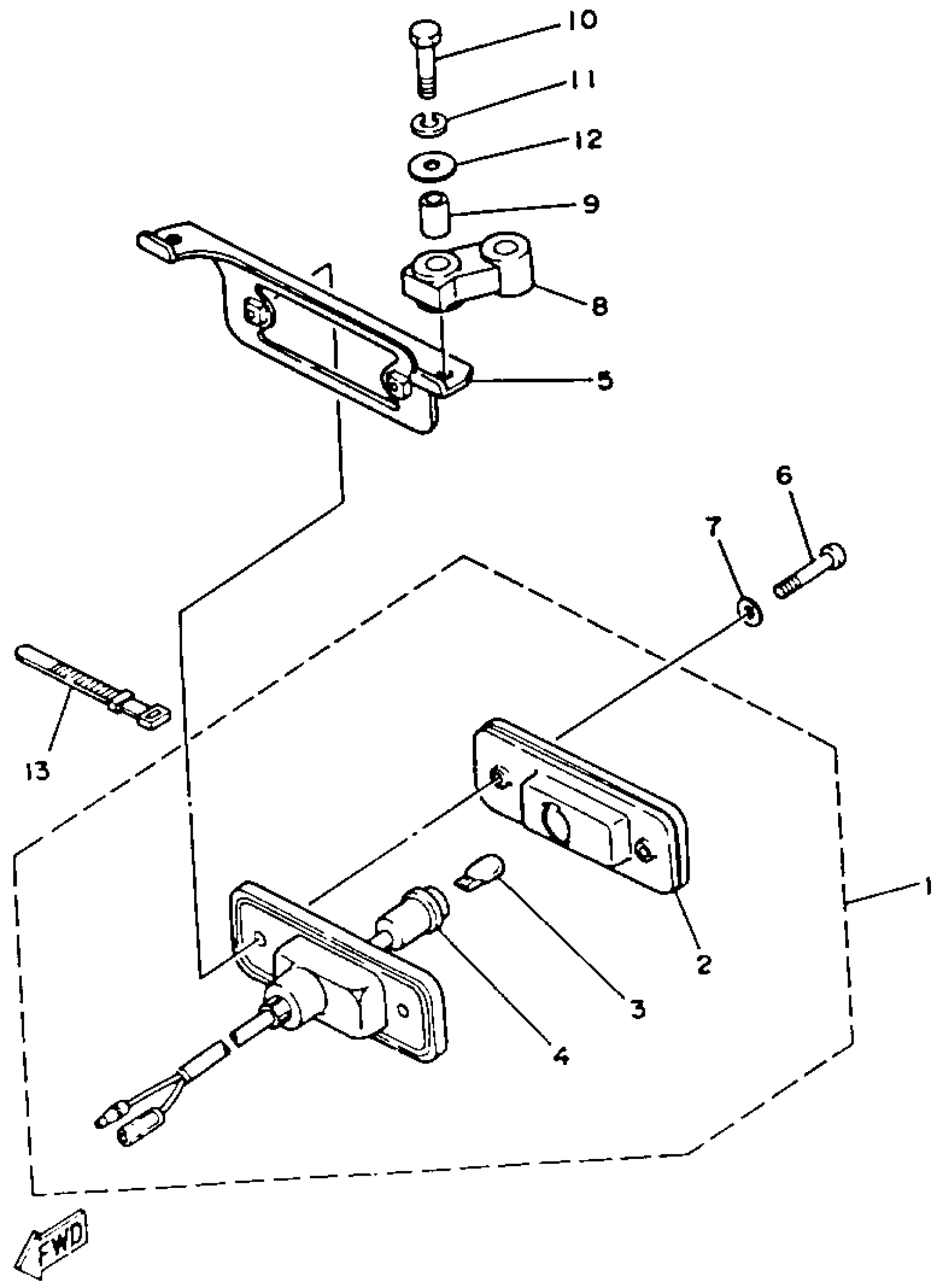
1
. TAILLIGHT UNIT ASSY
38W-84710-00-00
Unavailable
2
. LENS, TAILLIGHT
38W-84721-00-00
Unavailable
3
. BULB, METER 12V 38W
3F9-84744-00-XX
Unavailable
4
. TAILLIGHT UNIT ASSY
38W-84710-00-00
Unavailable
5
BRACKET, TAILLIGHT
1UY-84702-10-00
Unavailable
