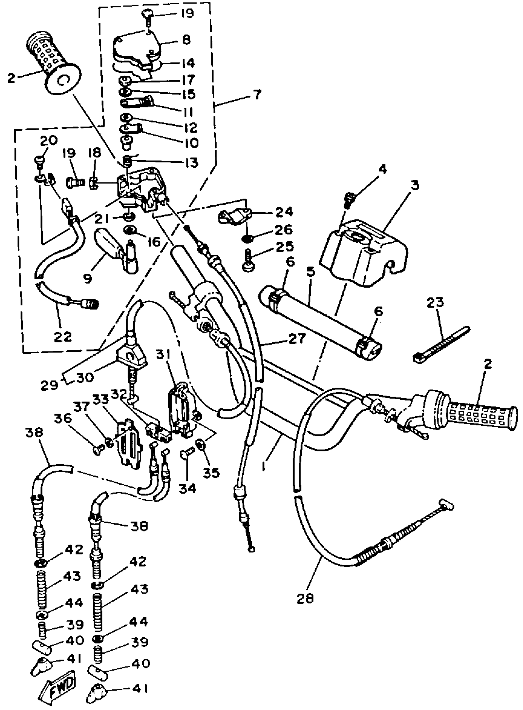
Yamaha YFS200D (BLASTER) 1992 HANDLEBAR CABLE Diagram
#
1
HANDLEBAR
2GU-26111-00-00
Unavailable
5
PROTECTOR 1
3GD-2622K-00-00
Unavailable
7
THROTTLE LEVER ASSEMBLY
2GU-26250-01-00
Unavailable
8
. CAP, GEAR
2GU-2628F-00-00
Unavailable
12
COLLAR
2GU-26259-00-00
Unavailable
13
SPRING
2GU-26314-00-00
Unavailable
16
WASHER
1NV-26129-00-00
Unavailable
17
NUT, U
95617-05100-00
Unavailable
18
NUT, HEXAGON SMALL
95317-05700-00
Unavailable
19
SCREW, PAN HEAD
98517-05020-00
Unavailable
20
SCREW, BINDING
98907-03006-00
Unavailable
21
OIL SEAL (9X15X4-256)
93104-09025-00
Unavailable
22
. SWITCH, THROTTLE
2GU-82567-00-00
Unavailable
24
HOLDER, LEVER LOWER
4V4-82913-00-00
Unavailable
25
SCREW, PAN HEAD
98517-05020-00
Unavailable
26
WASHER(3SX)
92907-05100-00
Unavailable
27
WIRE, THROTTLE 1
2XJ-26311-02-00
Unavailable
28
CABLE, CLUTCH
2XJ-26335-01-00
Unavailable
29
CABLE, BRAKE 4
4BD-26373-01-00
Unavailable
30
. BOOT
52H-26362-00-00
Unavailable
31
HOUSING, BRAKE LINK
52H-26371-00-00
Unavailable
32
JOINT, CABLE
52H-26347-01-00
Unavailable
33
PLATE
52H-2631G-00-00
Unavailable
34
SCREW, PAN HEAD(JJ6)
98507-05016-00
Unavailable
35
WASHER, PLAIN (646)
92990-05600-00
Unavailable
36
SCREW, PAN HEAD (J10)
98580-03008-00
Unavailable
37
WASHER(3SX)
92907-03600-00
Unavailable
38
CABLE, BRAKE
2XJ-26361-01-00
Unavailable
39
SPRING, COMPRESSION (29U)
90501-10782-00
Unavailable
40
PIN 1562723700
90249-12008-00
Unavailable
41
NUT, WING (1K5)
90175-06013-00
Unavailable
42
CIRCLIP(53L)
99001-06600-00
Unavailable
43
SPRING, COMPRESSION(52H)
90501-123A0-00
Unavailable
44
WASHER(52H)
90209-06265-00
Unavailable
