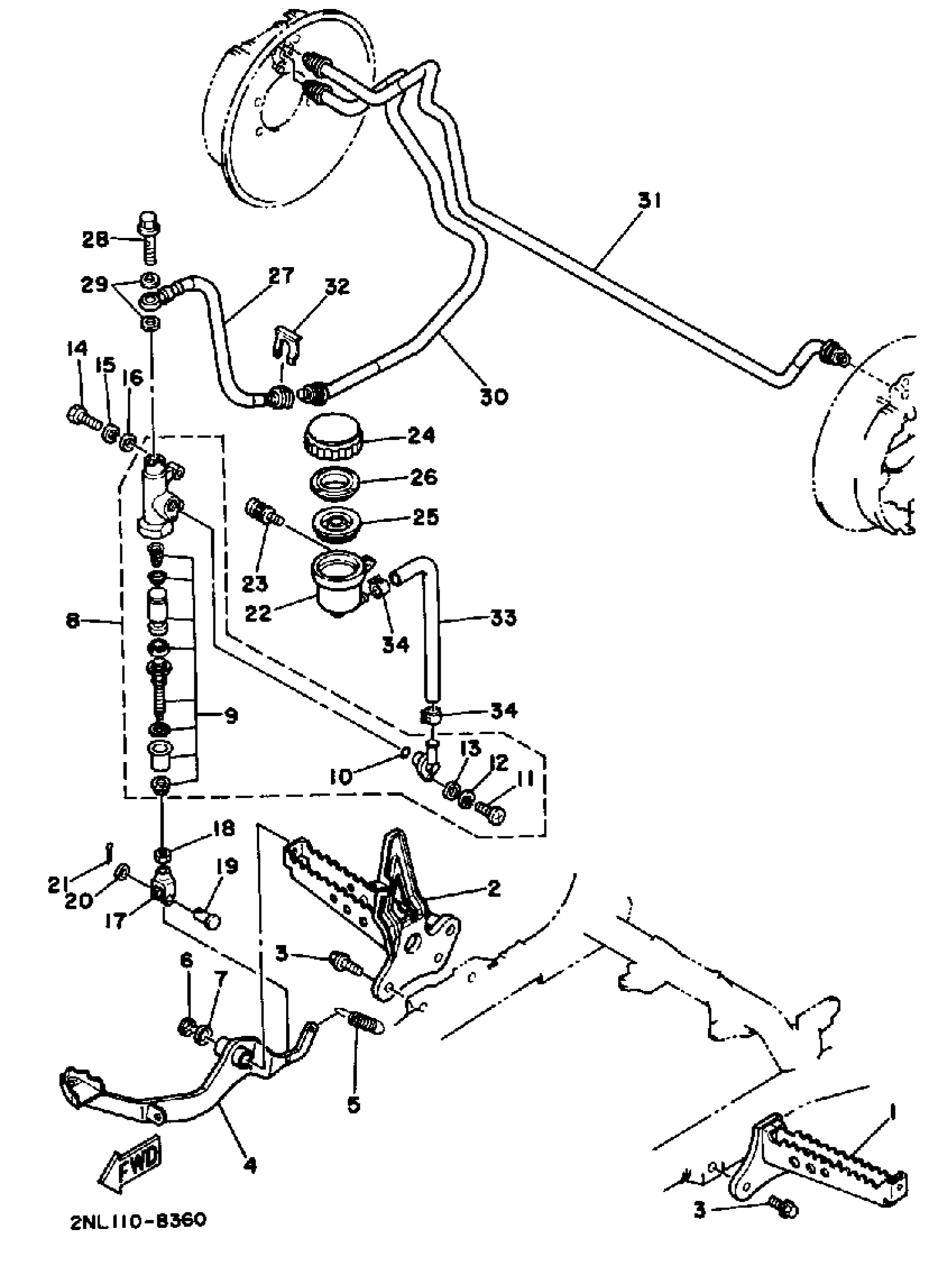
Yamaha YFP350U (TERRA PRO) 1988 STAND FOOTREST Diagram
#
Description
Price
1
FOOTREST 1
2NL-27411-00-00
Unavailable
2
FOOTREST 2
2NL-27421-00-00
Unavailable
4
PEDAL, BRAKE
2NL-27211-00-00
Unavailable
5
SPRING, TENSION
90506-10404-00
Unavailable
8
MASTER CYLINDER ASSY
2NL-25850-50-00
Unavailable
11
SCREW, PAN HEAD
98511-04012-00
Unavailable
16
.. WASHER, PLATE
92990-08600-00
Unavailable
17
JOINT
47X-27222-00-00
Unavailable
18
. NUT
95380-08700-00
Unavailable
19
PIN W/HOLE 307181180000
90240-08013-00
Unavailable
20
WASHER, PLATE 1562722600
90201-08083-00
Unavailable
21
PIN, COTTER
91490-16020-00
Unavailable
22
TANK, RESERVOIR
47X-25894-00-00
Unavailable
23
BOLT, WITH WASHER
90119-06130-00
Unavailable
24
CAP, RESERVOIR
2KF-25852-50-00
Unavailable
25
DIAPHRAGM, RESERVER
360-25854-01-00
Unavailable
26
BUSH,DIAPHRAGM
2GU-25855-00-00
Unavailable
27
HOSE, BRAKE
(2NL-25874-50-00)
Unavailable
28
BOLT, UNION(3GM)
90401-10159-00
Unavailable
29
WASHER, PLATE(481)
90201-10118-00
Unavailable
30
PIPE, BRAKE
(2NL-25871-50-00)
Unavailable
31
PIPE, BRAKE 2
2NL-25882-50-00
Unavailable
32
CIRCLIP
2GU-25866-00-00
Unavailable
33
HOSE, RESERVOIR
(2NL-25895-00-00)
Unavailable
34
CLIP (5K4)
90467-14057-00
Unavailable
