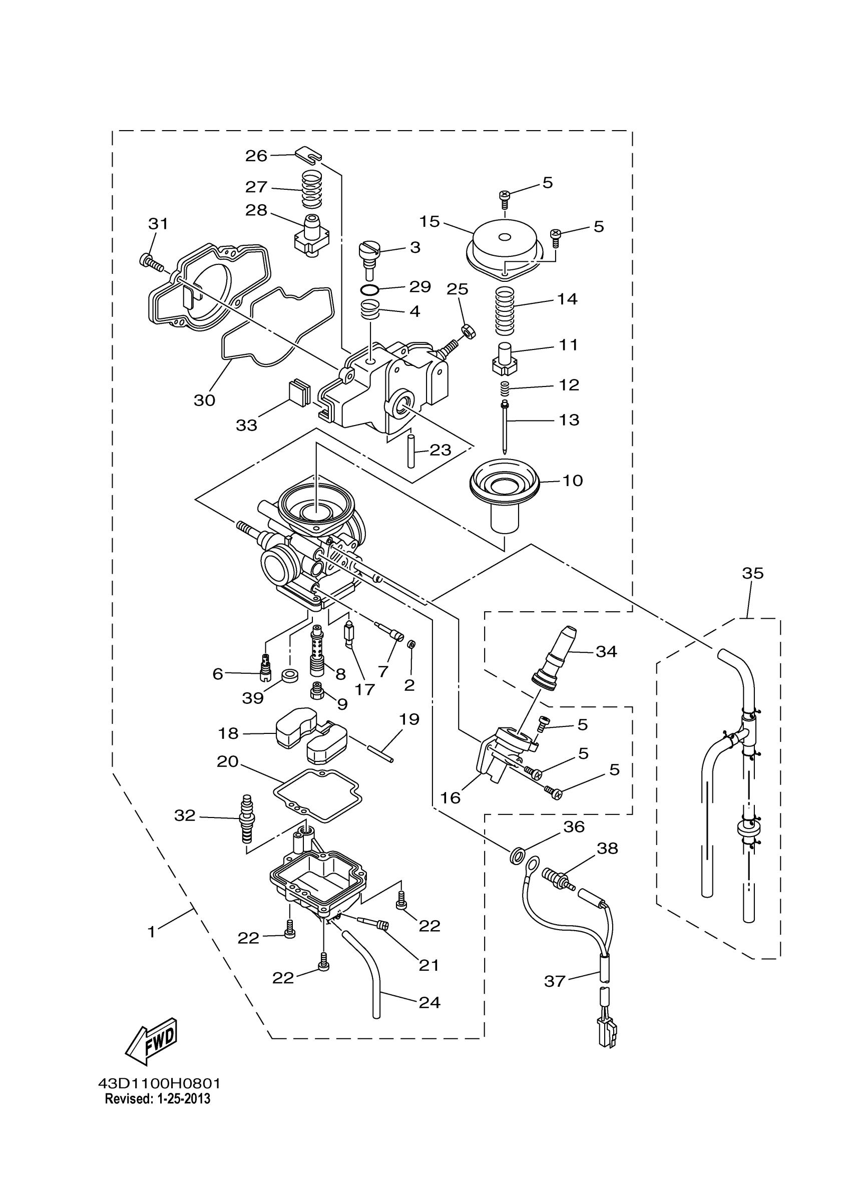
Yamaha YFM90RZW (RAPTOR 90) 43D4 2010 CARBURETOR Diagram
#
1
CARBURETOR ASSY 1
43D-E4301-00-00
Unavailable
2
PLUG, MAIN NOZZLE
43D-E4345-00-00
Unavailable
3
SCREW, THROTTLE
43D-E4321-00-00
Unavailable
4
SPRING, THROTTLE STOP
43D-E4333-00-00
Unavailable
7
PILOT SCREW SET
43D-E4347-00-00
Unavailable
9
JET, MAIN (#100)
288-E4343-50-00
Unavailable
10
DIAPHRAGM
5WB-E434A-00-00
Unavailable
11
SEAT, SPRING
5LB-14936-00-00
Unavailable
13
NEEDLE
43D-E4336-00-00
Unavailable
14
SPRING
5WB-E4286-00-00
Unavailable
15
CAP, MIXING CHAMBER
43D-E439D-00-00
Unavailable
16
JET, STARTER (# 0)
43D-E4344-00-00
Unavailable
17
VALVE, NEEDLE
43D-E4392-00-00
Unavailable
18
FLOAT
5WB-E4385-00-00
Unavailable
19
PIN, FLOAT
5LB-E4386-00-00
Unavailable
20
GASKET, FLOAT CHAMB
5WB-E4384-00-00
Unavailable
21
DRAIN SCREW ASSY
43D-E4306-00-00
Unavailable
22
SCREW, PAN HEAD(GA5)
98580-04014-00
Unavailable
23
PIPE, DRAIN 2
43D-E443G-00-00
Unavailable
24
PIPE
4FP-E4349-00-00
Unavailable
25
NUT
5AV-E4594-00-00
Unavailable
26
PLATE
43D-E4346-00-00
Unavailable
27
SPRING, THROTTLE STOP
43D-E4333-10-00
Unavailable
28
ADJUSTER,THROTTLE
43D-E4321-10-00
Unavailable
29
O-RING
43D-E4397-10-00
Unavailable
30
GASKET
43D-E4398-00-00
Unavailable
31
SCREW, PAN HEAD (E56)
98580-04010-00
Unavailable
32
ACCELERATOR PUMP COMP.
43D-E4304-00-00
Unavailable
33
PLUG
43D-E432A-00-00
Unavailable
34
MANUAL STARTER COMP. 1
43D-E4307-00-00
Unavailable
35
TUBE BREATHER COMP.
43D-WE431-00-00
Unavailable
36
WASHER, PLATE
90201-08016-00
Unavailable
37
WIRE, LEAD
43D-H331N-01-00
Unavailable
38
HEATER ASSY
5FU-83790-20-00
Unavailable
39
PLUG
50M-14355-01-00
Unavailable
