Yamaha YFM90RDW (RAPTOR 90) 43DD0 2013 STEERING HANDLE CABLE Diagram
#
Description
Price
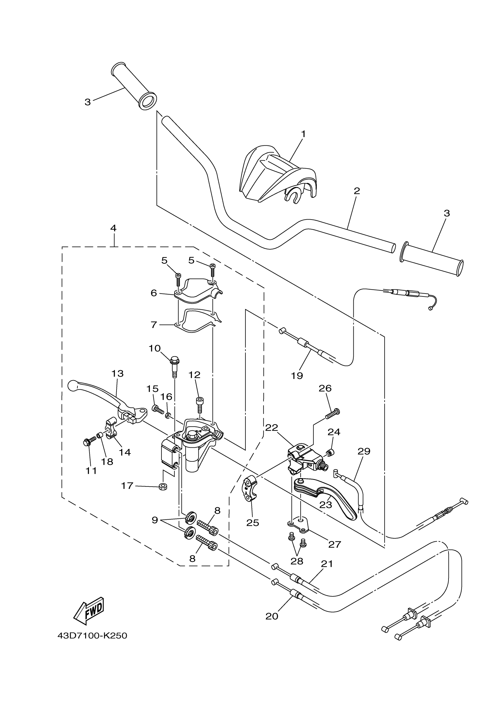
3
GRIP
43D-F6241-00-00
Unavailable
4
THROTTLE LEVER ASSY
43D-F6250-01-00
Unavailable
5
SCREW 1
43D-H1145-00-00
Unavailable
6
CAP, GEAR
43D-F628F-00-00
Unavailable
7
GASKET
43D-F628G-00-00
Unavailable
11
BOLT, AJUSTING
43D-F6382-00-00
Unavailable
13
LEVER 2
43D-H3922-01-00
Unavailable
14
JOINT, CABLE
43D-F6347-00-00
Unavailable
16
NUT
43D-F3357-00-00
Unavailable
17
NUT
43D-F3778-00-00
Unavailable
18
COLLAR
43D-F7213-00-00
Unavailable
19
CABLE, THROTTLE 1
43D-F6311-01-00
Unavailable
20
CABLE, BRAKE
43D-F6340-00-00
Unavailable
21
CABLE, BRAKE
43D-F6350-00-00
Unavailable
22
BRACKET, LEVER
43D-F5727-00-00
Unavailable
23
LEVER, BRAKE
43D-F5726-00-00
Unavailable
24
DAMPER
43D-F6113-00-00
Unavailable
25
HOLDER
43D-F6393-00-00
Unavailable
26
SCREW
43D-F8354-00-00
Unavailable
27
PLATE, GUIDE
43D-F5689-00-00
Unavailable
28
SCREW
43D-F8355-00-00
Unavailable
29
WIRE, BRAKE 1
43D-F6341-10-00
Unavailable
