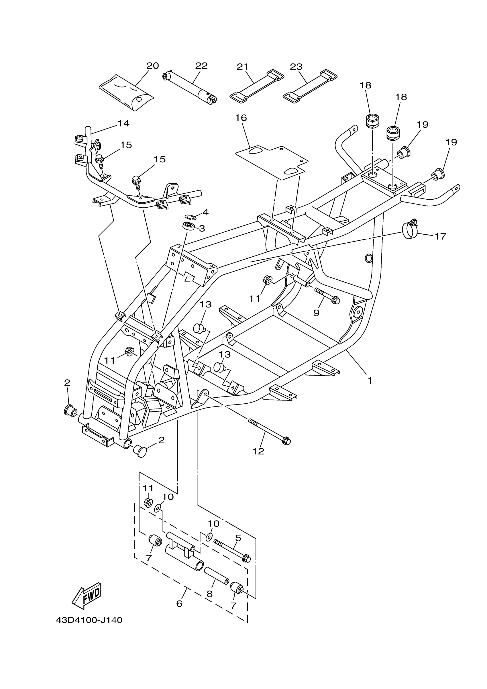
Yamaha YFM90RAW (RAPTOR 90) 43D70 2011 FRAME Diagram
#
Description
Price
1
FRAME COMP.
43D-F1110-01-00
Unavailable
2
PLUG, BLIND
43D-F1279-00-00
Unavailable
3
BEARING
43D-F11C1-00-00
Unavailable
4
CLIP
43D-F11C2-00-00
Unavailable
6
ENGINE BRACKET COMP.
43D-F1410-00-00
Unavailable
7
BUSH
43D-F11C3-00-00
Unavailable
8
. SPACER
43D-F1459-00-00
Unavailable
9
BOLT 2
43D-F1632-00-00
Unavailable
10
WASHER, FENDER MOLD
43D-F1549-00-00
Unavailable
12
BOLT 1
43D-E3573-00-00
Unavailable
14
STAY, FENDER 1
43D-F1513-00-00
Unavailable
16
PROTECTOR, ENGINE
43D-F1471-00-00
Unavailable
17
CLAMP, HOSE
43D-F1823-00-00
Unavailable
18
DAMPER
43D-F113B-00-00
Unavailable
19
PLUG, BLIND
43D-F1289-00-00
Unavailable
20
TOOL KIT
43D-F8100-00-00
Unavailable
21
BAND 2
43D-F4399-00-00
Unavailable
22
GAUGE, AIR
43D-F811A-01-00
Unavailable
23
BAND 1
43D-F4398-00-00
Unavailable
