#
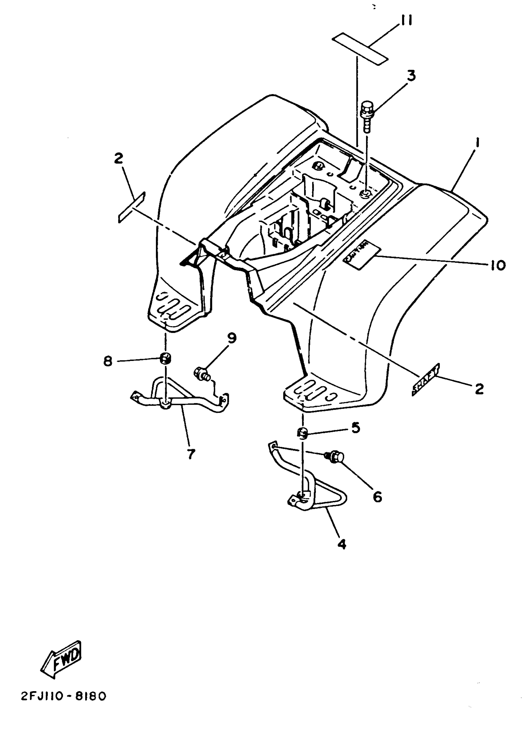
1
2FJ-21611-10-00
Unavailable
1
2FJ-21611-20-00
Unavailable
2
55X-2163G-00-00
Unavailable
2
55X-2163G-20-00
Unavailable
4
55X-21613-00-00
Unavailable
7
55X-21614-00-00
Unavailable
10
1YW-2178A-00-00
Unavailable
11
99242-00025-00
Unavailable
Edit ride
