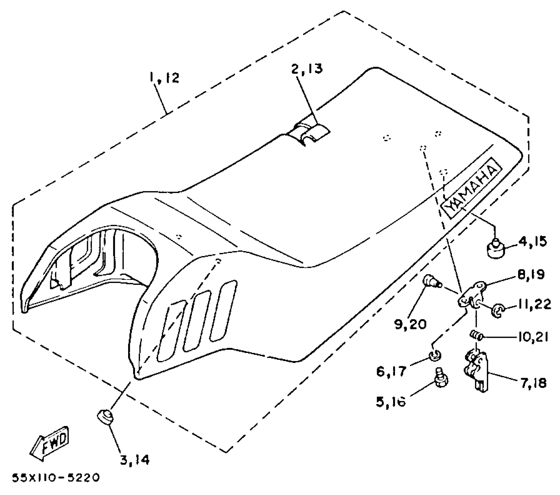
Yamaha YFM80S (BADGER) 1986 SEAT Diagram
#
Description
Price
1
SEAT ASSEMBLY (55X-W2473-10-00)
55X-24710-00-00
Unavailable
2
. COVER, DOUBLE SEAT (55X-24731-00-00)
2FJ-24731-00-00
Unavailable
6
WASHER, SPRING
92995-06100-00
Unavailable
7
LEVER, SEAT
29U-24776-00-00
Unavailable
8
BRACKET, SEAT LEVER
4K0-24775-00-00
Unavailable
9
PIN
4K0-24774-01-00
Unavailable
10
SPRING, TORSION (24W)
90508-20454-00
Unavailable
11
CIRCLIP (EU0)
99080-04600-00
Unavailable
12
SEAT ASSEMBLY (55X-W2473-10-00)
55X-24710-00-00
Unavailable
13
. COVER, DOUBLE SEAT (55X-24731-10-00)
2FJ-24731-10-00
Unavailable
17
WASHER, SPRING
92995-06100-00
Unavailable
18
LEVER, SEAT
29U-24776-00-00
Unavailable
19
BRACKET, SEAT LEVER
4K0-24775-00-00
Unavailable
20
PIN
4K0-24774-01-00
Unavailable
21
SPRING, TORSION (24W)
90508-20454-00
Unavailable
22
CIRCLIP (EU0)
99080-04600-00
Unavailable
