Yamaha YFM80S (BADGER) 1986 AIR CLEANER Diagram
#
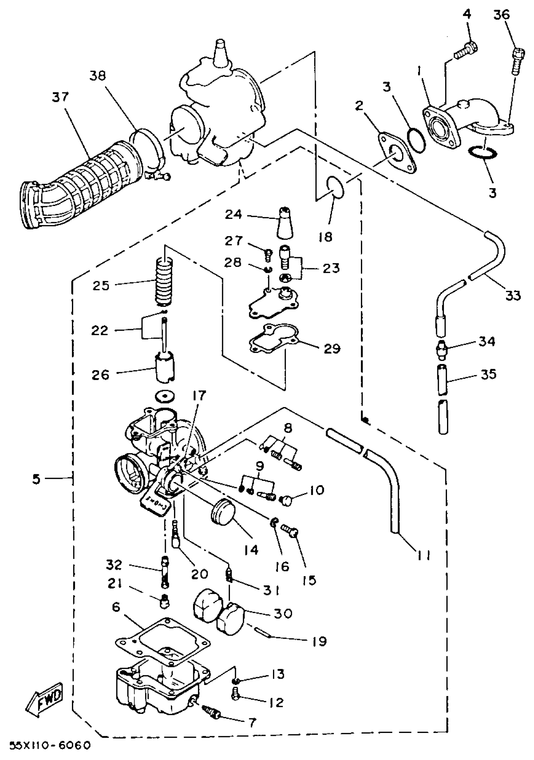
1
JOINT, CARBURETOR 1
55X-13586-00-00
Unavailable
2
JOINT
22K-13595-00-00
Unavailable
5
. CABLE, THROTTLE 1
2FJ-26311-00-00
Unavailable
5
. CARBURETOR ASSEMBLY
55X-14101-02-00
Unavailable
5
CARBURETOR SET(55X)
99999-03229-00
Unavailable
8
THROTTLE SCREW SET
22F-14103-00-00
Unavailable
10
CAP
22F-14991-00-00
Unavailable
14
CAP
22F-14169-00-00
Unavailable
15
SCREW, PAN HEAD (713)
98580-04008-00
Unavailable
17
PLATE
55X-14146-00-00
Unavailable
18
O-RING
22K-14147-00-00
Unavailable
19
PIN, FLOAT
127-14186-00-00
Unavailable
20
JET, PILOT (#12.5)
22F-14142-12-00
Unavailable
21
JET, MAIN #80
18A-14143-16-00
Unavailable
22
. NEEDLE SET
55X-1490J-00-00
Unavailable
23
CABLE ADJUST SCREW SET
12G-14106-00-00
Unavailable
24
CAP
8A7-14169-00-00
Unavailable
25
SPRING, THROTTLE VALVE
260-14131-00-00
Unavailable
26
. VALVE, THROTTLE 1
55K-14112-30-00
Unavailable
27
SCREW, PAN HEAD (E56)
98580-04010-00
Unavailable
29
GASKET
55X-14198-00-00
Unavailable
30
FLOAT
22F-14185-00-00
Unavailable
31
NEEDLE ASSY
5TH-14150-00-00
Unavailable
32
. NOZZLE, MAIN
22K-14141-12-00
Unavailable
33
PIPE
55X-14196-00-00
Unavailable
34
PIPE 2,OVERFLOW
24W-14193-00-00
Unavailable
35
TUBE, FLEXIBLE(3NV)
91A21-07020-00
Unavailable
37
JOINT, AIR CLEANER 1
55X-14453-00-00
Unavailable
38
CLAMP, HOSE (5H0)
90460-43179-00
Unavailable
