Partiron

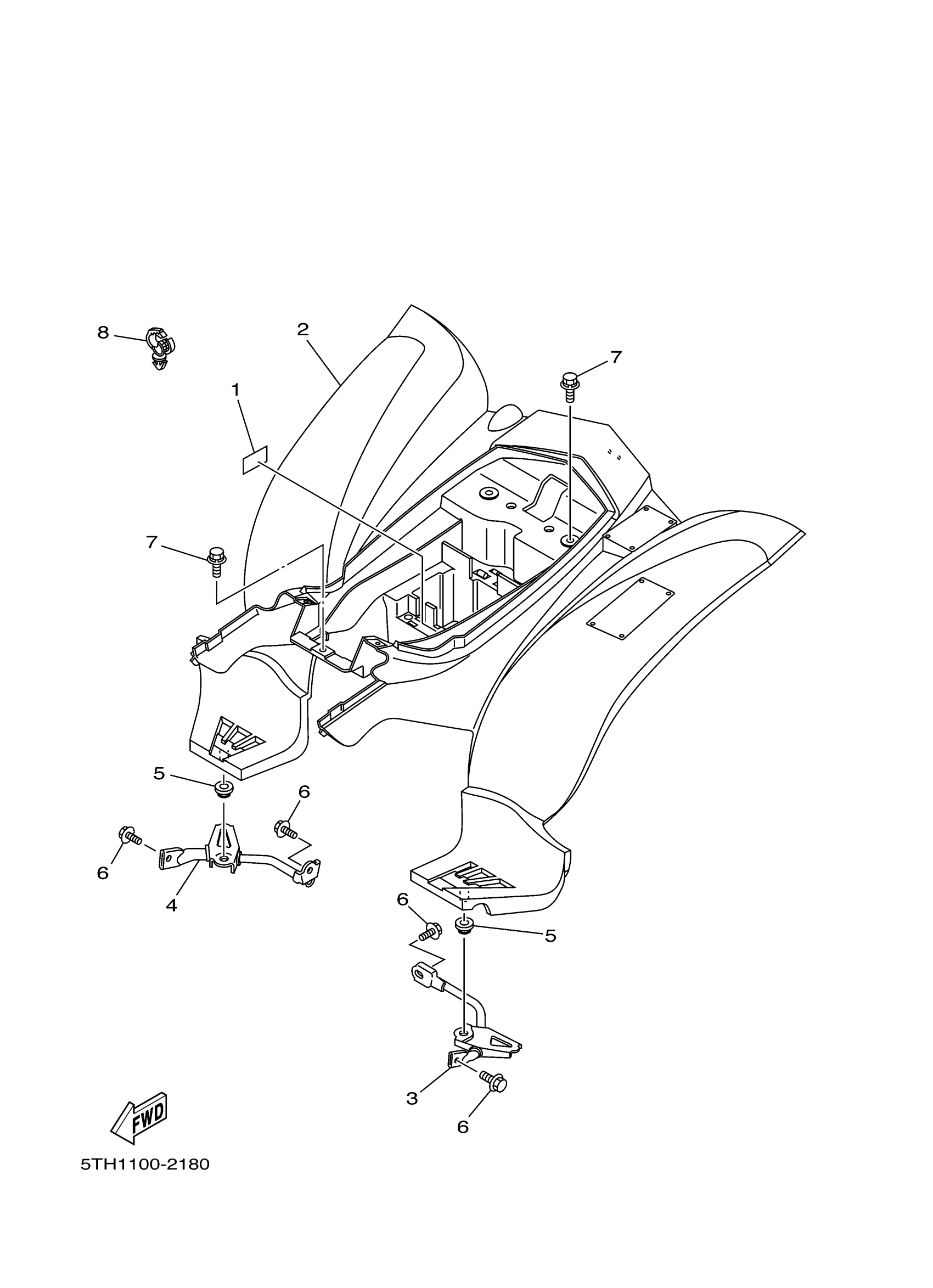
Yamaha YFM80RXL (RAPTOR 80) 5THL0 2008 REAR FENDER Diagram

#

Description
Price

1

PLATE, EPA OFFROAD ATV 1

5TH-2177C-20-00

Unavailable

2

REAR FENDER COMP.

5TH-W2161-00-00

Unavailable

2

REAR FENDER COMP. (PASTEL DARK GRAY)

5TH-W2161-30-00

Unavailable

3

STAY, FENDER 1

3GB-21613-00-00

Unavailable

4

STAY, FENDER 2

3GB-21614-00-00

Unavailable

5

GROMMET (509)

90480-18171-00

$8.49

6

BOLT, FLANGE

95817-08012-00

$5.49

7

BOLT, WITH WASHER

90119-06152-00

$7.49

8

CLAMP

90464-13249-00

Unavailable