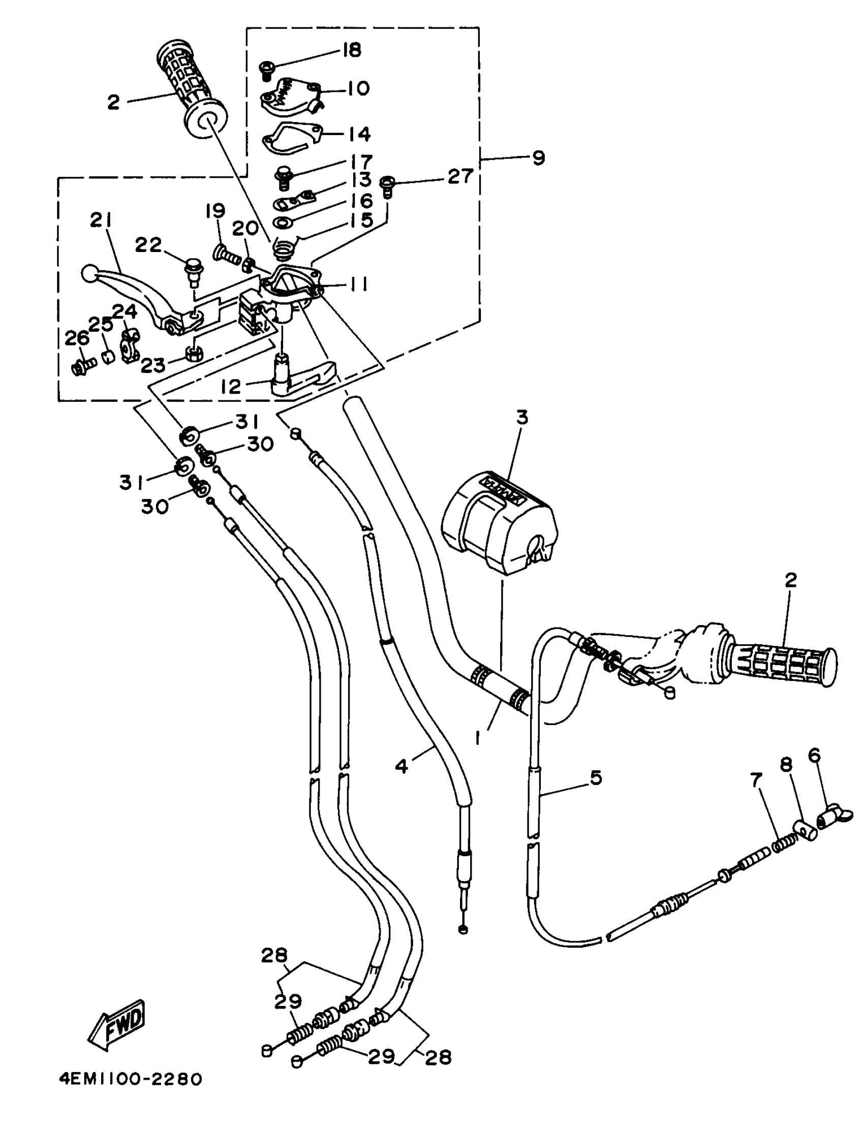
Yamaha YFM80L (BADGER) 4EMP 1999 STEERING HANDLE - CABLE Diagram
#
Description
Price
1
HANDLEBAR
87A-23811-00-00
Unavailable
3
PROTECTOR, HANDLEBAR
3GD-26124-01-00
Unavailable
9
THROTTLE LEVER ASSY
3GB-26250-01-00
Unavailable
10
CAP, GEAR
3GB-2628F-00-00
Unavailable
11
BODY, THROTTLE
3GB-2625E-01-00
Unavailable
12
LEVER, THROTTLE
3GB-2625G-00-00
Unavailable
16
WASHER, PLATE(3GB)
90201-145M4-00
Unavailable
17
BOLT, FLANGE
95817-08012-00
Unavailable
18
SCREW, PAN HEAD
98517-04016-00
Unavailable
19
SCREW, PAN HEAD
98517-05020-00
Unavailable
20
NUT, HEXAGON SMALL
95317-05700-00
Unavailable
21
LEVER 2
3GB-83922-00-00
Unavailable
22
BOLT(3GB)
90109-061F3-00
Unavailable
23
NUT, SELF-LOCKING
95617-06100-00
Unavailable
24
JOINT, CABLE
3GB-26347-00-00
Unavailable
25
COLLAR (3L6)
90387-06761-00
Unavailable
26
BOLT, FLANGE
95817-06016-00
Unavailable
27
SCREW, PAN
98517-06020-00
Unavailable
28
CABLE, BRAKE
3GB-26361-04-00
Unavailable
29
SPRING (2N3)
90501-08511-00
Unavailable
30
BOLT(2FJ)
90123-08106-00
Unavailable
31
NUT
90179-08030-00
Unavailable
