Partiron

Yamaha YFM80L (BADGER) 4EMP 1999 STARTER CLUTCH Diagram

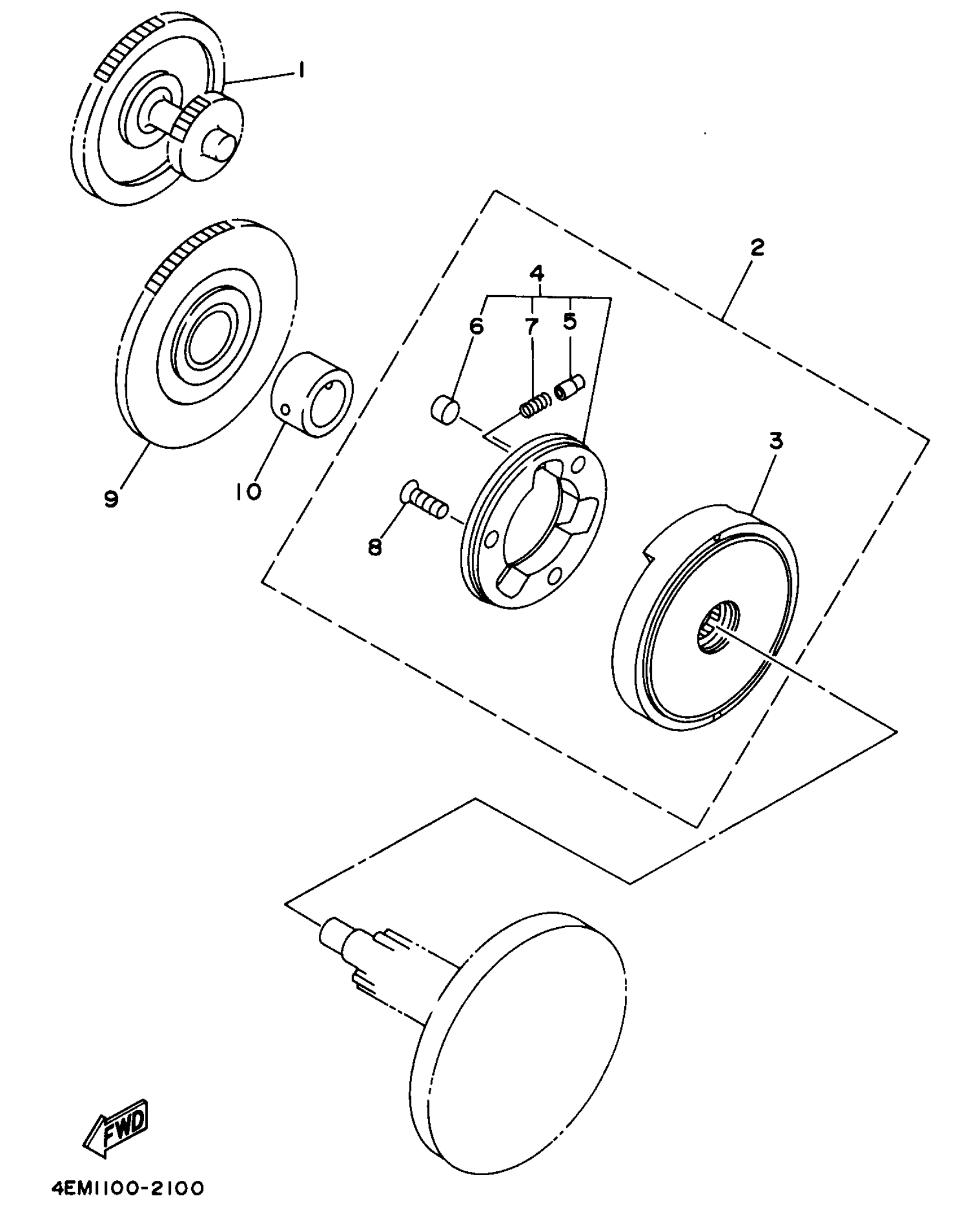
#

Description
Price

1

STARTER WHEEL ASSY

2HX-15520-00-00

Unavailable

2

STARTER CLUTCH ASSY

22M-15570-10-00

Unavailable

3

ROTARY FILTER ASSY

22M-13450-10-00

Unavailable

4

STARTER CLUTCH ASSY

22M-15570-10-00

Unavailable

5

CAP, STARTER CLUTCH SPRING

3AY-15583-00-00

$2.70

6

PIN, DOWEL (5J3)

93610-10174-00

$4.14

7

.. SPRING, COMPRESSION

90501-03799-00

Unavailable

8

SCREW, FLAT

98707-06018-00

$6.99

9

GEAR, IDLER 2

2HX-15517-10-00

Unavailable

10

SPACER (4G2)

90560-20196-00

Unavailable