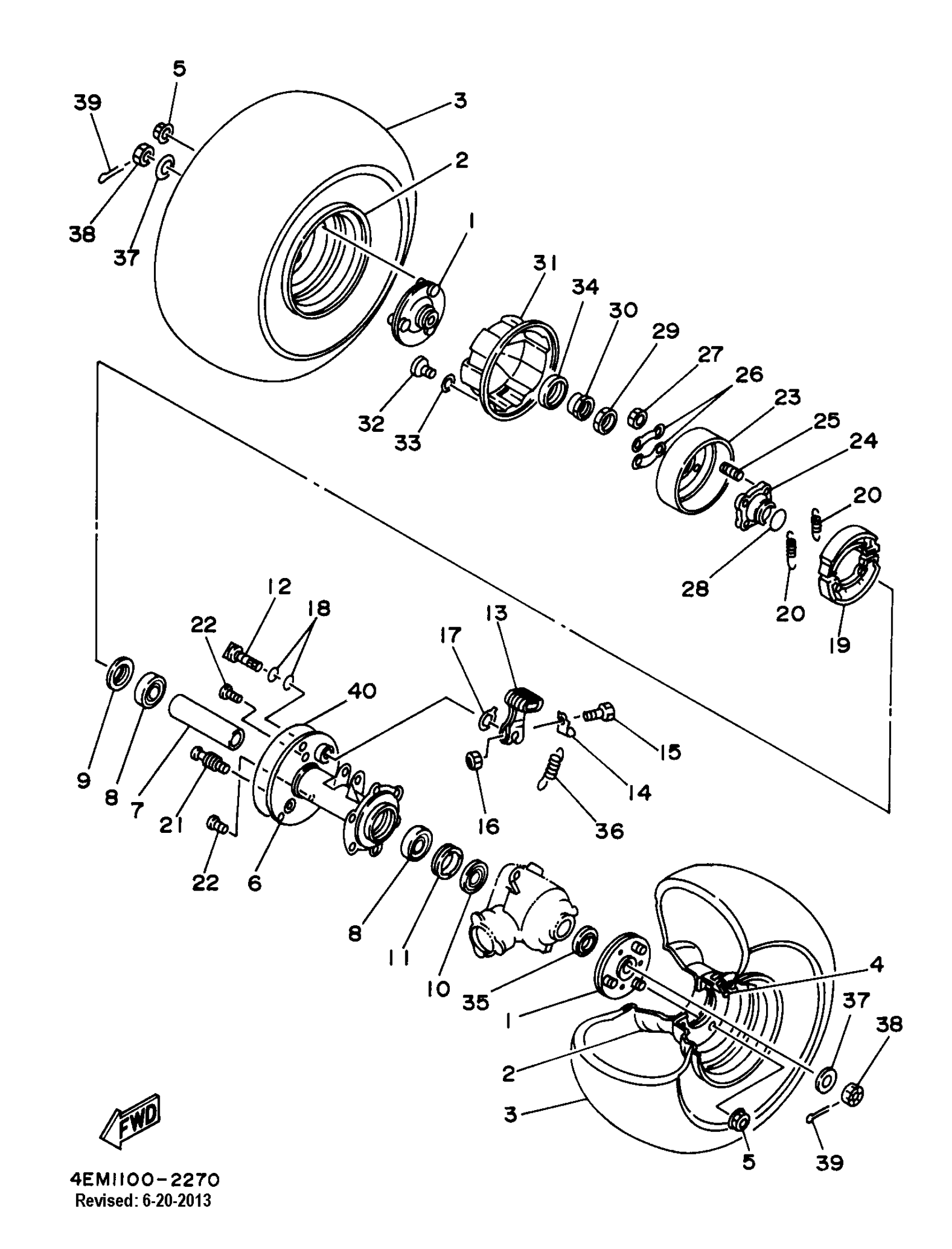
Yamaha YFM80H (BADGER) 1996 REAR WHEEL Diagram
#
1
COLLAR, WHEEL
55X-25383-10-00
Unavailable
2
REAR WHEEL COMP.
2FJ-25390-00-35
Unavailable
6
HUB, REAR
3GB-25311-00-33
Unavailable
7
SPACER, BEARING
3GB-25317-00-00
Unavailable
11
NUT, AXLE
3GB-25382-00-00
Unavailable
14
HOOK, SPRING
55X-2533H-00-00
Unavailable
16
NUT(6TA)
95317-06600-00
Unavailable
17
PLATE, INDICATOR
23F-2533A-00-00
Unavailable
18
O-RING (26H)
93210-14579-00
Unavailable
19
BRAKE SHOE KIT
3KG-W253E-00-00
Unavailable
20
SPRING, TENSION
90506-15260-00
Unavailable
21
PIN, PIVOT
3GB-25326-00-00
Unavailable
22
BOLT, RIBBED NECK(3GB)
90114-10005-00
Unavailable
23
DRUM, BRAKE
3GB-2531E-00-00
Unavailable
24
BOSS
3GB-25343-10-00
Unavailable
25
BOLT, STUD(2XJ)
90116-08507-00
Unavailable
26
WASHER, LOCK
40E-25834-00-00
Unavailable
27
NUT(6TA)
95337-08600-00
Unavailable
28
O-RING(22F)
93210-26662-00
Unavailable
29
NUT
90170-28011-00
Unavailable
30
NUT
90179-28009-00
Unavailable
31
COVER 1
3GB-25715-00-00
Unavailable
32
SCREW, PAN
98517-06012-00
Unavailable
33
WASHER, SPRING
92907-06100-00
Unavailable
34
OIL SEAL (705)
93102-35191-00
Unavailable
35
COVER, HUB DUST
3GB-25367-00-00
Unavailable
36
SPRING, TENSION(55X)
90507-15038-00
Unavailable
37
WASHER, PLATE (4N0)
90201-126A7-00
Unavailable
38
NUT, CASTLE(36R)
90171-12039-00
Unavailable
39
PIN, COTTER(6L5)
91490-25030-00
Unavailable
40
O-RING(55X)
93211-63688-00
Unavailable
