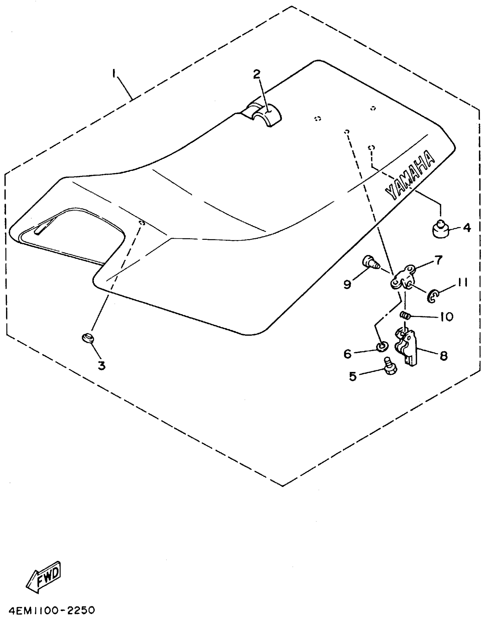
#
1
4EM-24710-10-00
Unavailable
2
4EM-24731-10-00
Unavailable
6
92995-06100-00
Unavailable
7
4K0-24775-00-00
Unavailable
8
29U-24776-00-00
Unavailable
9
4K0-24774-01-00
Unavailable
10
90508-20454-00
Unavailable
11
99080-04600-00
Unavailable
Edit ride
