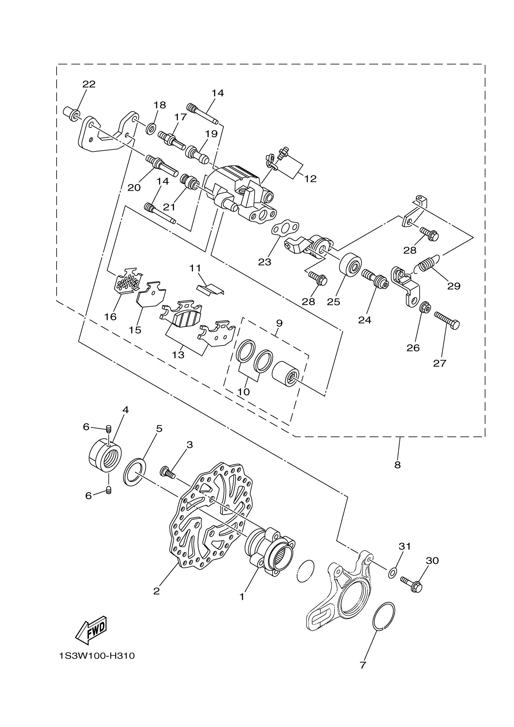
Yamaha YFM7RSEA (700 SPECIAL EDITION) 1ASA 2011 REAR BRAKE CALIPER Diagram
#
Description
Price
8
CALIPER ASSY, REAR 1
1S3-2580V-12-00
Unavailable
11
SUPPORT, PAD
4GY-25919-50-00
Unavailable
14
PIN, PAD
5GH-25924-00-00
Unavailable
16
SHIM, CALIPER
5GH-25828-00-00
Unavailable
17
BOLT
1UY-25926-51-00
Unavailable
18
WASHER, SPRING
1UY-25938-51-00
Unavailable
19
BOOT 2
1UY-25937-51-00
Unavailable
20
BOLT
3JD-25926-00-00
Unavailable
21
BOOT, CALIPER
3JD-25917-00-00
Unavailable
22
NUT
3JD-25961-00-00
Unavailable
23
GASKET
5UG-25898-00-00
Unavailable
24
SHAFT L
1S3-25978-00-00
Unavailable
25
BOOT
1UY-25974-51-00
Unavailable
26
NUT
1S3-25973-00-00
Unavailable
27
ADJUSTBOLT
1S3-25972-00-00
Unavailable
28
BOLT, FITTING
5UG-25833-00-00
Unavailable
29
SPRING, RETURN
5TG-25977-50-00
Unavailable
30
BOLT, FLANGE
90105-08104-00
Unavailable
31
WASHER, PLATE
90201-08060-00
Unavailable
