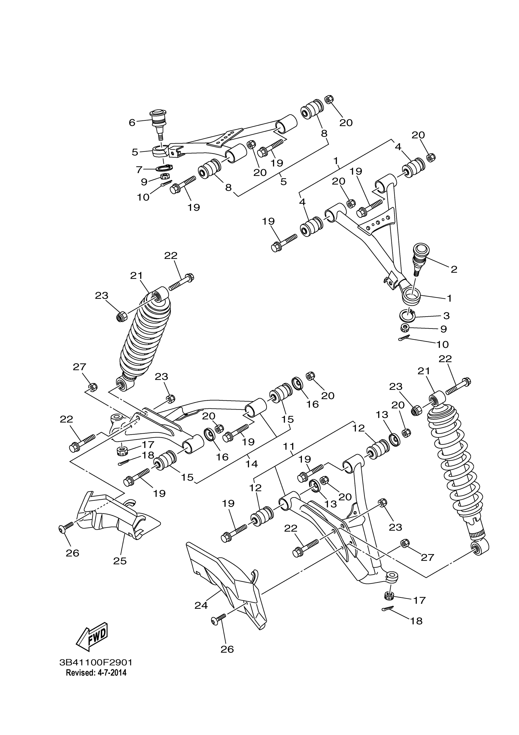
Yamaha YFM7FGPW (GRIZZLY 700) 3B41 2007 FRONT SUSPENSION WHEEL Diagram
#
Description
Price
5
FRONT UPPER ARM CO
1HP-F3550-01-00
Unavailable
17
NUT, CASTLE(36R)
90171-12039-00
Unavailable
18
PIN, COTTER
91490-25020-00
Unavailable
19
BOLT, FLANGE
90105-10222-00
Unavailable
20
NUT, SELFLOCKING (533 FRAME)
90185-10060-00
Unavailable
21
SHOCK ABSORBER ASSY
3B4-23350-01-00
Unavailable
22
BOLT, WASHER BASED(59V)
90105-10388-00
Unavailable
23
NUT, SELFLOCKING (533 FRAME)
90185-10060-00
Unavailable
24
COVER, LOWER 1
3B4-23123-00-00
Unavailable
25
COVER, LOWER 2
3B4-23133-00-00
Unavailable
26
BOLT, HEXAGON SOCKET HEAD(3HE)
90110-06200-00
Unavailable
27
NUT, NYLON
95707-06300-00
Unavailable
