Yamaha YFM7FGPDUW (GRIZZLY 700 DUCKS) 3B48 2007 WATER PUMP Diagram
#
Description
Price
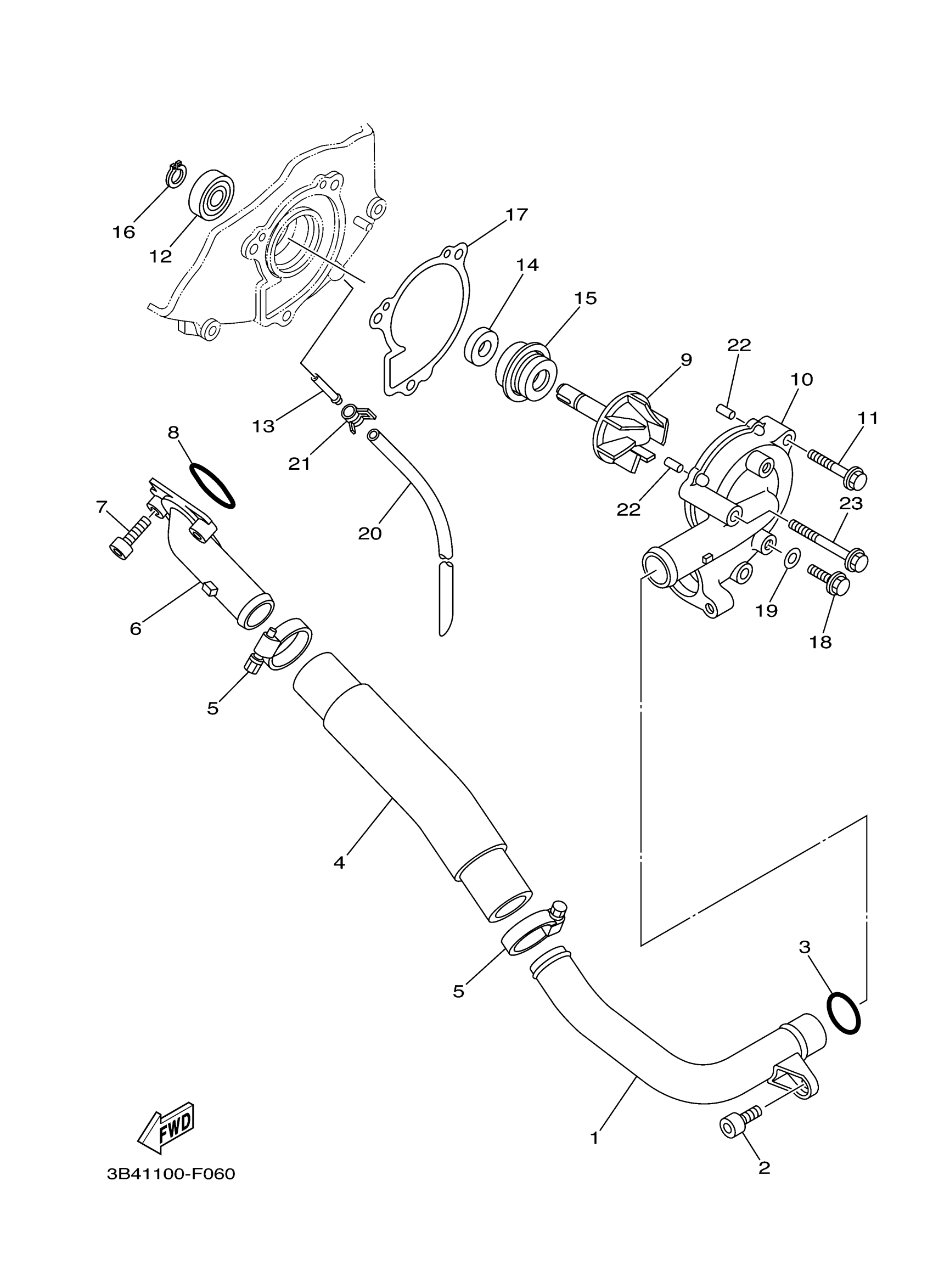
16
CIRCLIP(10W)
99009-10400-00
Unavailable
17
GASKET, HOUSING COVER 2
3B4-12428-00-00
Unavailable
18
BOLT, FLANGE
95022-06010-00
Unavailable
19
GASKET 256113960000
90430-06014-00
Unavailable
20
HOSE (L1050)
90445-072G8-00
Unavailable
21
CLIP(42X)
90467-07093-00
Unavailable
22
PIN,DOWEL (603)
93604-10011-00
Unavailable
23
BOLT, FLANGE
95022-06050-00
Unavailable
