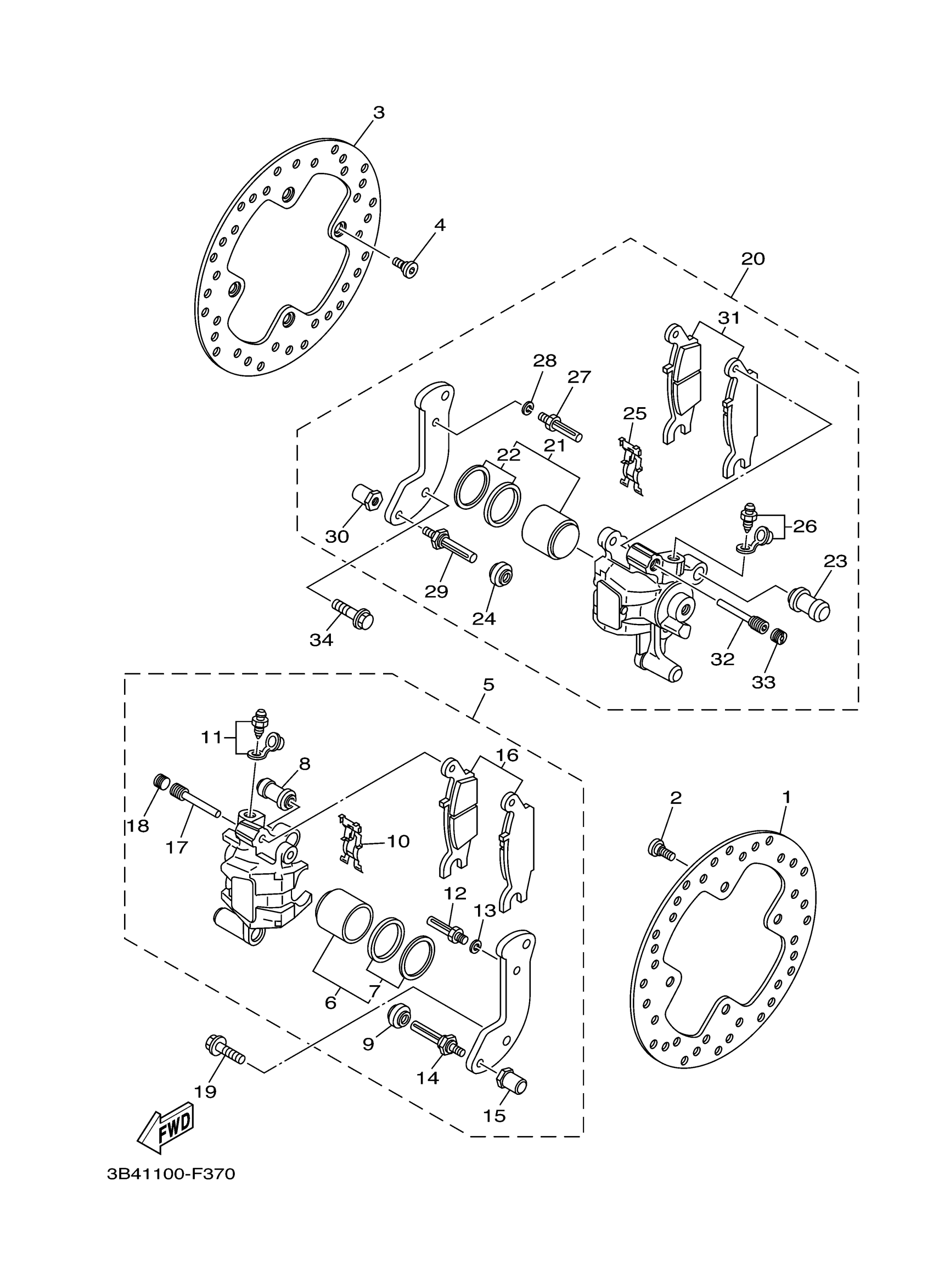
Yamaha YFM7FGPAGR (GRIZZLY 700 EPS 4WD) 1DT1 2011 REAR BRAKE CALIPER Diagram
#
Description
Price
13
WASHER, SPRING
1UY-25938-51-00
Unavailable
16
BRAKE PAD KIT 2
3B4-W0046-00-00
Unavailable
17
PIN, PAD
3GD-25933-00-00
Unavailable
18
BOLT
8CR-25926-00-00
Unavailable
19
BOLT, FLANGE
90105-08184-00
Unavailable
20
CALIPER ASSY, REAR 2
3B4-2580W-11-00
Unavailable
28
WASHER, SPRING
1UY-25938-51-00
Unavailable
31
BRAKE PAD KIT 2
3B4-W0046-10-00
Unavailable
32
PIN, PAD
3GD-25933-00-00
Unavailable
33
BOLT
8CR-25926-00-00
Unavailable
34
BOLT, FLANGE
90105-08184-00
Unavailable
