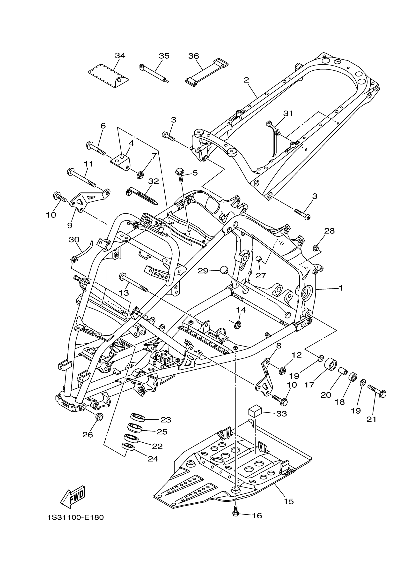
Yamaha YFM70RYRW (RAPTOR 700 GYTR EDITION) 1S3D 2007 FRAME Diagram
#
Description
Price
1
FRONT FRAME COMP.
1PE-F1101-09-00
Unavailable
8
STAY, ENGINE 3
1S3-21316-00-00
Unavailable
9
STAY, ENGINE 3
1S3-21317-00-00
Unavailable
15
PROTECTOR, ENGINE
1S3-21471-00-00
Unavailable
16
BOLT
90109-06201-00
Unavailable
17
TENSIONER
5TG-22178-01-00
Unavailable
18
BEARING (3X3)
93300-60804-00
Unavailable
19
WASHER, PLATE
90201-08043-00
Unavailable
20
COLLAR
90387-08064-00
Unavailable
21
BOLT, FLANGE
95814-08045-00
Unavailable
22
BEARING
93306-20352-00
Unavailable
23
OIL SEAL (25X44X6-810)
93102-25081-00
Unavailable
24
OIL SEAL (25X36X8-334)
93102-25099-00
Unavailable
25
HOLDER, BEARING
2GU-23872-00-00
Unavailable
26
PLUG
90338-26004-00
Unavailable
27
PLUG
90338-24260-00
Unavailable
28
PLUG(2AK)
90338-20183-00
Unavailable
29
PLUG
90338-23004-00
Unavailable
30
CLAMP(2TV)
90464-10112-00
Unavailable
31
CLAMP(4KJ)
90464-20213-00
Unavailable
32
BAND, SWITCH CORD
25G-83936-01-00
Unavailable
33
DAMPER, STOPPER
1S3-2140A-00-00
Unavailable
34
TOOL KIT
5TG-28100-10-00
Unavailable
35
GAUGE, AIR
1NV-2811A-01-00
Unavailable
36
BAND, BATTERY
116-82131-00-00
Unavailable
