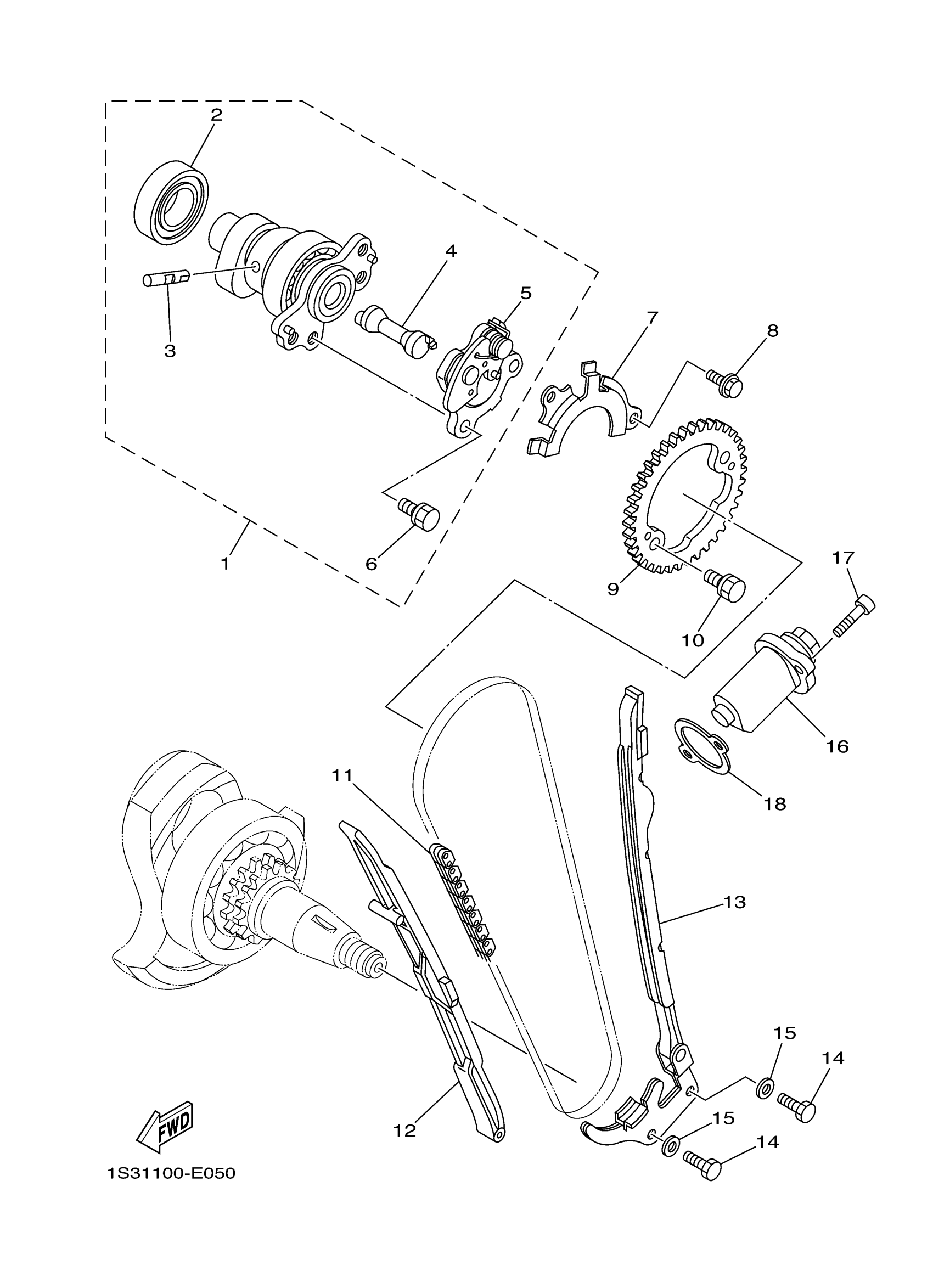
Yamaha YFM70RW (RAPTOR 700) 1S37 2007 CAMSHAFT CHAIN Diagram
#
Description
Price
1
CAMSHAFT ASSY 1
1S3-12170-01-00
Unavailable
16
TENSIONER ASSY, CAM CHAIN
3TB-12210-00-00
Unavailable
17
BOLT,SOCKET
91317-06025-00
Unavailable
18
GASKET, TENSIONER CASE
4DW-12213-00-00
Unavailable
