- Partiron
- OEM Parts
- Yamaha
- atv
- 2007
- YFM70RSE2W (RAPTOR 700 SPECIAL EDITION 2) 1S3E 2007
RADIATOR HOSE
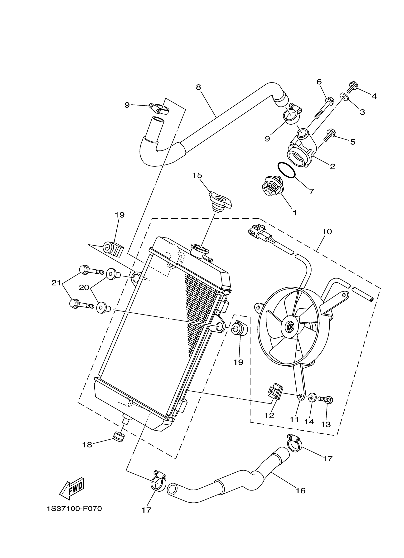
Yamaha YFM70RSE2W (RAPTOR 700 SPECIAL EDITION 2) 1S3E 2007 RADIATOR HOSE Diagram
#
Description
Price
2
COVER, THERMOSTAT
1S3-12413-00-00
Unavailable
3
GASKET 256113960000
90430-06014-00
Unavailable
8
HOSE 3
1S3-12578-00-00
Unavailable
10
YFM700R RADIATOR KIT
1PE-WE246-00-00
Unavailable
16
HOSE 4
1S3-12579-00-00
Unavailable
18
GROMMET (13X)
90480-18330-00
Unavailable
19
DAMPER, RADIATOR
1S3-12465-00-00
Unavailable
20
COLLAR
90387-06166-00
Unavailable
21
BOLT, FLANGE
95817-06030-00
Unavailable
