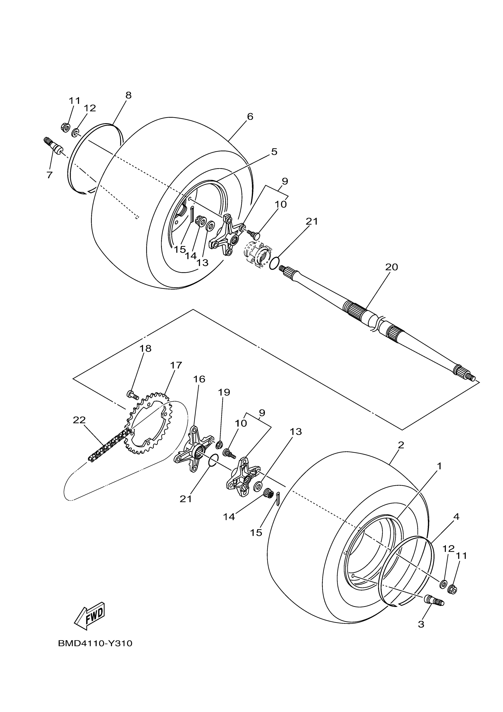
Yamaha YFM70RSCPD (RAPTOR 700R SE) BMD4 2023 REAR WHEEL Diagram
#
Description
Price
2
AT 20 X 10-9 M976Y
94110-09801-00
Unavailable
3
VALVE, RIM
93900-00812-00
Unavailable
6
AT 20 X 10-9 M976Y
94110-09801-00
Unavailable
7
VALVE, RIM
93900-00812-00
Unavailable
16
COLLAR, SPROCKET A
1PE-F5386-00-00
Unavailable
17
SPROCKET, DRIVEN (38T)
5TG-25438-10-00
Unavailable
18
BOLT
90109-10013-00
Unavailable
19
NUT, SELF-LOCKING
90185-10818-00
Unavailable
20
AXLE, WHEEL
BFK-F5381-01-00
Unavailable
21
O-RING(2TY)
93210-36769-00
Unavailable
22
CHAIN (DID520VP2-T
94568-H6098-00
Unavailable
