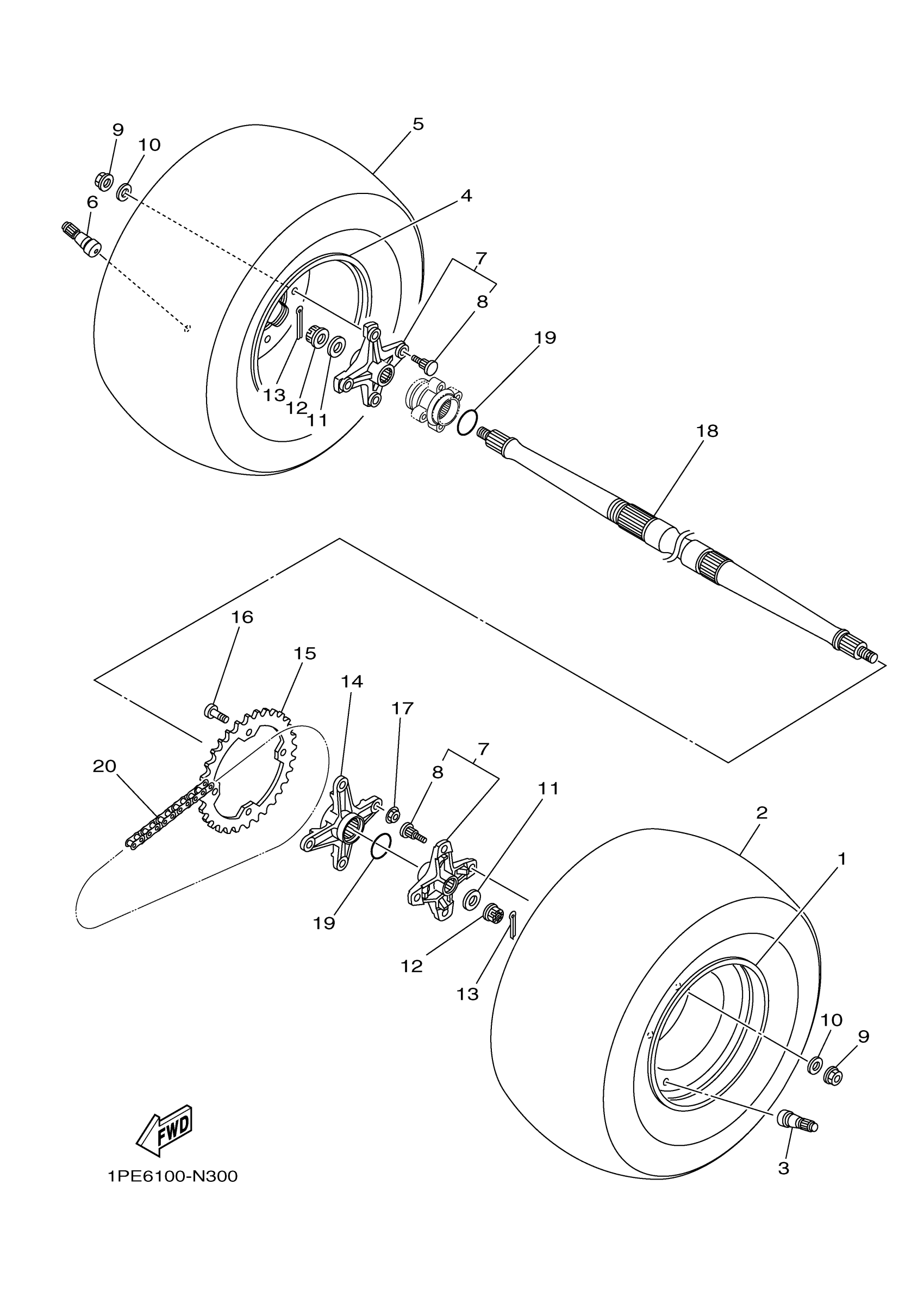
Yamaha YFM70RSBSS (RAPTOR 700) BMDL 2025 REAR WHEEL Diagram
#
Description
Price
2
AT 20 X 10-9 M976Y
94110-09801-00
Unavailable
3
VALVE, RIM
93900-00812-00
Unavailable
5
AT 20 X 10-9 M976Y
94110-09801-00
Unavailable
6
VALVE, RIM
93900-00812-00
Unavailable
16
BOLT
90109-10013-00
Unavailable
17
NUT, SELF-LOCKING
90185-10818-00
Unavailable
18
AXLE, WHEEL
BFK-F5381-01-00
Unavailable
19
O-RING(2TY)
93210-36769-00
Unavailable
20
CHAIN (DID520VP2-T
94568-H6098-00
Unavailable
