Yamaha YFM70RSBKD (RAPTOR 700) 2LSL 2019 SHIFT CAM FORK Diagram
#
Description
Price
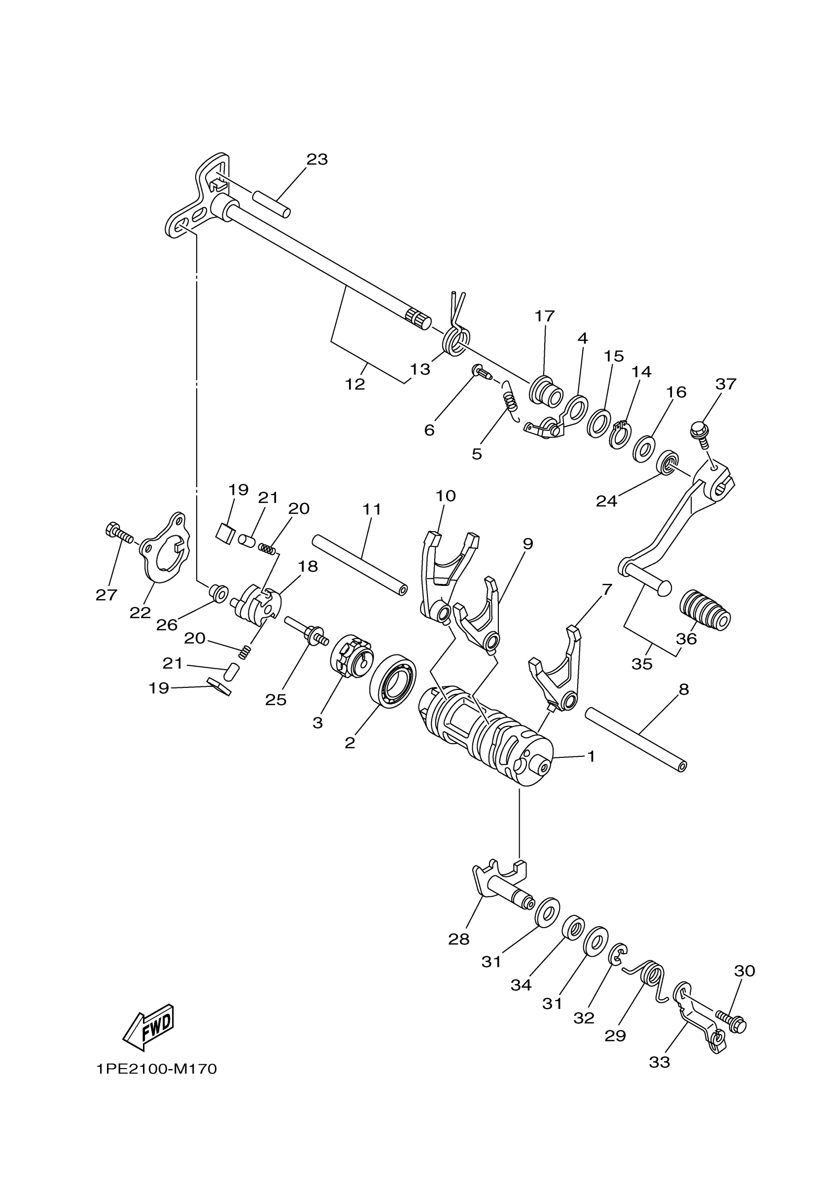
16
WASHER, PLATE
90201-12040-00
Unavailable
17
BOSS 1
5VK-18699-00-00
Unavailable
18
LEVER, SHIFT 2
1S3-18122-01-00
Unavailable
19
PAWL, SHIFTER
3XJ-18182-00-00
Unavailable
20
SPRING, COMPRESSION(3XJ)
90501-052G5-00
Unavailable
21
PIN, PAWL
3XJ-18184-00-00
Unavailable
22
GUIDE, SHIFT
1S3-18172-00-00
Unavailable
23
PIN, DOWEL
93608-30002-00
Unavailable
24
OIL SEAL (4G0)
93102-12224-00
Unavailable
25
PIN, SHIFT
3XJ-18173-10-00
Unavailable
26
ROLLER, SHIFT LEVER
3XJ-18178-00-00
Unavailable
27
BOLT
90101-06664-00
Unavailable
28
SHIFTER BRKT. ASSY
1S3-18380-00-00
Unavailable
29
SPRING
5LP-18337-01-00
Unavailable
30
BOLT, FLANGE
95817-06012-00
Unavailable
31
WASHER, PLATE (353)
90201-12575-00
Unavailable
32
CIRCLIP
99002-10600-00
Unavailable
33
BRACKET, SHIFTER
5LP-18431-00-00
Unavailable
34
OIL SEAL (12X22X5-371)
93102-12106-00
Unavailable
35
SHIFT PEDAL ASSY
1PE-E8110-00-00
Unavailable
36
COVER, SHIFT PEDAL
1PE-E8113-00-00
Unavailable
37
BOLT, FLANGE
90105-06142-00
Unavailable
