Yamaha YFM70RSBKD (RAPTOR 700) 2LSL 2019 FRAME Diagram
#
Description
Price
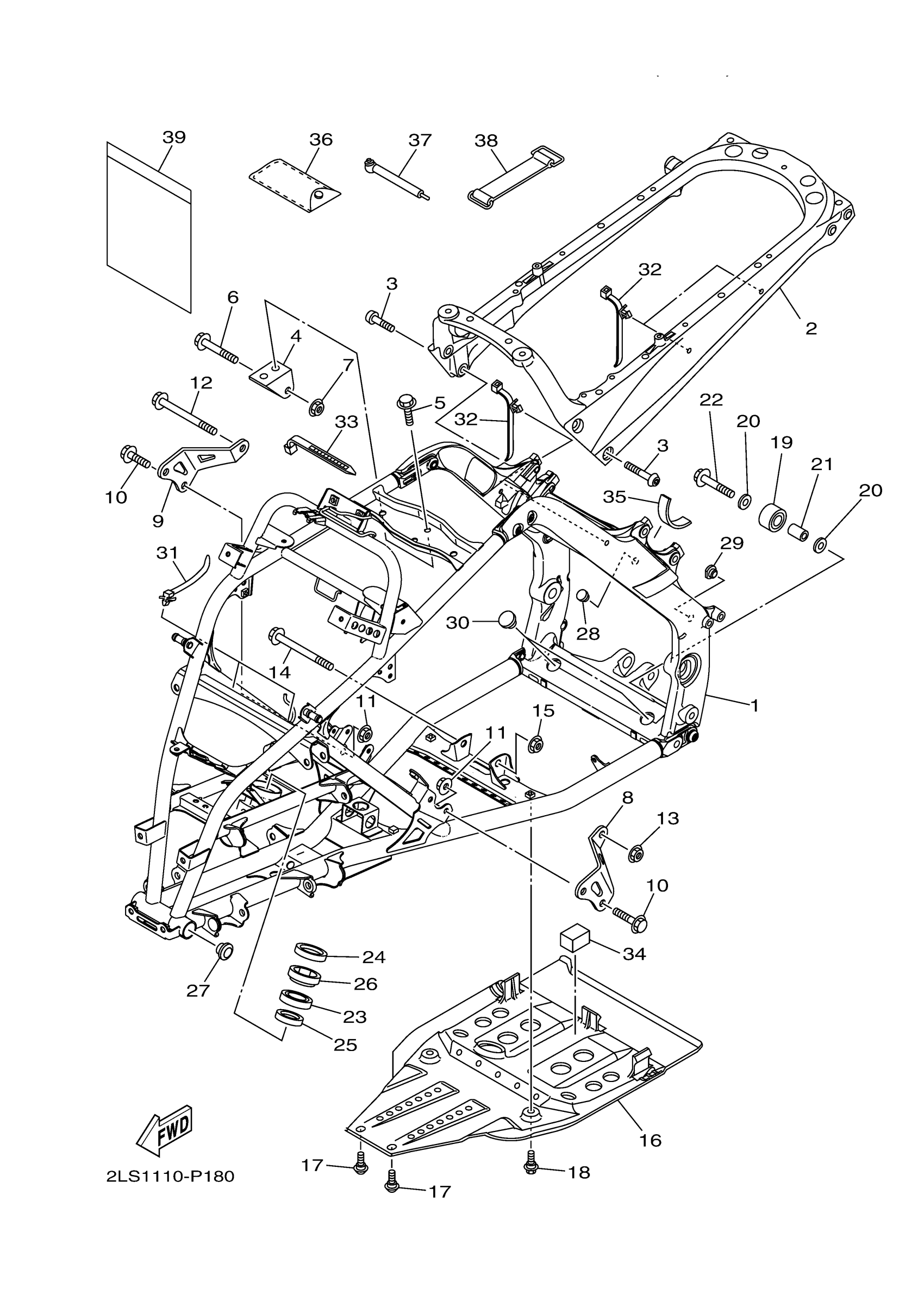
1
FRONT FRAME COMP.
BMD-F1101-29-00
Unavailable
2
REAR FRAME COMP.
2LS-F1190-08-00
Unavailable
16
PROTECTOR, ENGINE
1PE-F1471-00-00
Unavailable
17
BOLT
90109-06201-00
Unavailable
18
BOLT
90109-06172-00
Unavailable
19
TENSIONER
4D3-22178-00-00
Unavailable
20
WASHER, PLATE
90201-08053-00
Unavailable
21
BUSH, SOLID(38V)
90380-08136-00
Unavailable
22
BOLT, FLANGE
95814-08045-00
Unavailable
23
BEARING
93306-20352-00
Unavailable
24
OIL SEAL (25X44X6-810)
93102-25081-00
Unavailable
25
OIL SEAL (25X36X8-334)
93102-25099-00
Unavailable
26
HOLDER, BEARING
2GU-23872-00-00
Unavailable
27
PLUG
90338-26004-00
Unavailable
28
PLUG
90338-24260-00
Unavailable
29
PLUG(2AK)
90338-20183-00
Unavailable
30
PLUG
90338-23004-00
Unavailable
31
CLAMP
5B4-F1338-00-00
Unavailable
32
CLAMP(4KJ)
90464-20213-00
Unavailable
33
BAND, SWITCH CORD
25G-83936-01-00
Unavailable
34
DAMPER, STOPPER
1S3-2140A-00-00
Unavailable
35
DAMPER, LOCATING 1
4X4-24181-00-00
Unavailable
36
TOOL KIT
1PE-F8100-01-00
Unavailable
37
GAUGE, AIR
1NV-2811A-01-00
Unavailable
38
BAND, BATTERY
116-82131-00-00
Unavailable
39
POUCH
1P0-F8186-01-00
Unavailable
