Yamaha YFM70RCCTG (RAPTOR 700R SE CAL) BFKN 2026 REAR ARM Diagram
#
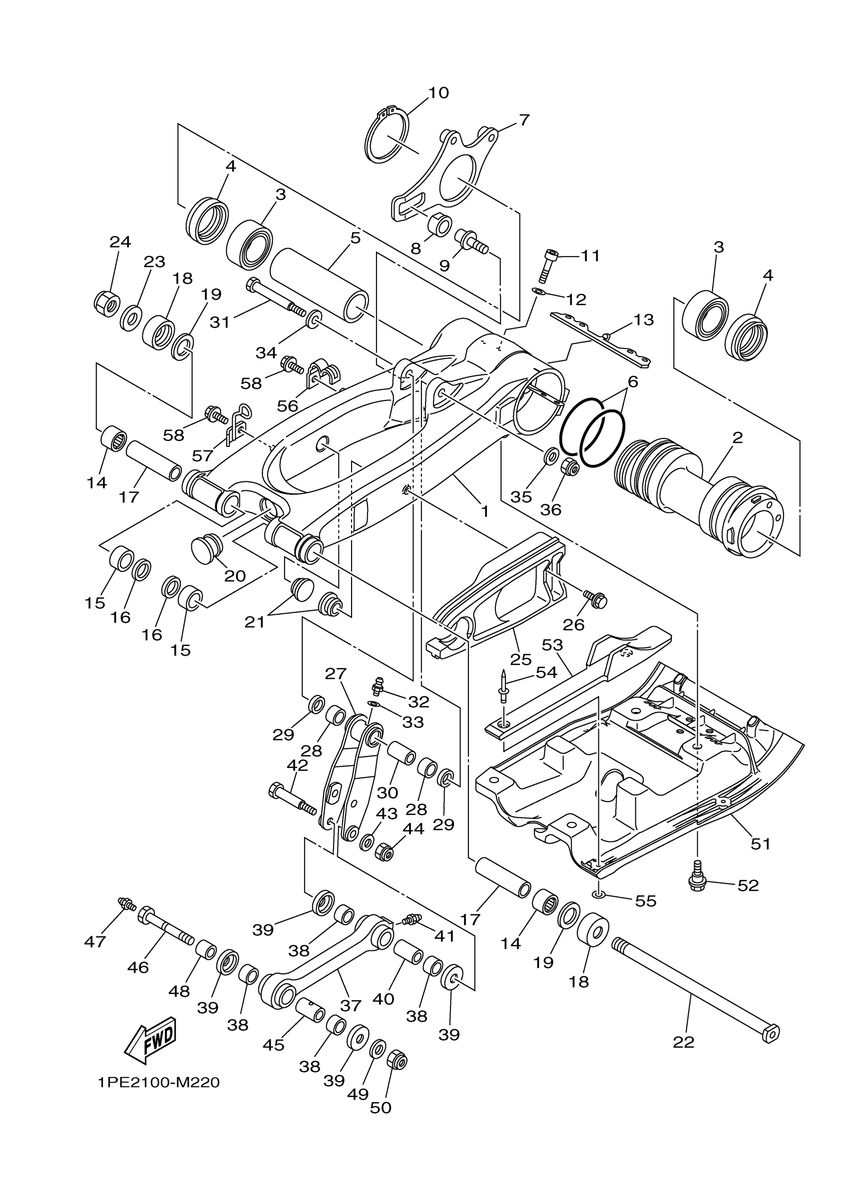
1
REAR ARM COMP.
1S3-22110-00-00
Unavailable
12
.. WASHER, PLATE
92990-08600-00
Unavailable
16
OIL SEAL (23X)
93106-22019-00
Unavailable
17
BUSH
1S3-22184-00-00
Unavailable
18
COVER, THRUST 2
4X7-22129-00-00
Unavailable
19
WASHER
3YF-22149-00-00
Unavailable
20
PLUG
1S3-22417-00-00
Unavailable
21
PLUG
90338-23004-00
Unavailable
22
SHAFT, PIVOT
1S3-22141-00-00
Unavailable
23
WASHER, PLATE
90201-16018-00
Unavailable
24
NUT, SELF-LOCKING
90185-16002-00
Unavailable
25
SEAL, GUARD
1S3-22151-00-00
Unavailable
26
BOLT
90109-06172-00
Unavailable
27
ARM, RELAY
1PE-F217A-00-00
Unavailable
28
BUSH, FORMED(1RX)
90383-20032-00
Unavailable
29
OIL SEAL
93109-20076-00
Unavailable
30
COLLAR
90387-12021-00
Unavailable
31
BOLT
90109-10018-00
Unavailable
32
NIPPLE, GREASE
93700-06M03-00
Unavailable
33
WASHER, PLATE (J22)
90201-063F3-00
Unavailable
34
WASHER, PLATE
90201-12030-00
Unavailable
35
WASHER, PLATE
90201-10034-00
Unavailable
36
NUT, SELF-LOCKING
90185-10817-00
Unavailable
37
ROD, CONNECTING 1
1PE-F217F-00-00
Unavailable
38
BUSH, FORMED(1RX)
90383-20032-00
Unavailable
39
COVER, THRUST 2
23X-22129-01-00
Unavailable
40
COLLAR
90387-12010-00
Unavailable
41
NIPPLE, GREASE
93700-06M03-00
Unavailable
42
BOLT
90109-10020-00
Unavailable
43
WASHER, PLATE
90201-10035-00
Unavailable
44
NUT, SELF-LOCKING
90185-10817-00
Unavailable
45
COLLAR
90387-12010-00
Unavailable
46
BOLT
90109-12009-00
Unavailable
47
NIPPLE, GREASE
93700-06M03-00
Unavailable
48
COLLAR
90387-12028-00
Unavailable
49
WASHER, PLATE
90201-12032-00
Unavailable
50
NUT, SELF-LOCKING
90185-12002-00
Unavailable
51
COVER
1PE-F219X-01-00
Unavailable
52
BOLT
90109-06199-00
Unavailable
53
GUARD, CHAIN
1S3-22153-00-00
Unavailable
54
RIVET, BLIND(8CH)
90267-47187-00
Unavailable
55
WASHER, PLATE
90201-04027-00
Unavailable
56
HOLDER, BRAKE HOSE
1S3-25886-00-00
Unavailable
57
HOLDER, CABLE
1S3-23317-00-00
Unavailable
58
BOLT, FLANGE DEEP RECESS
95E32-06012-00
Unavailable
