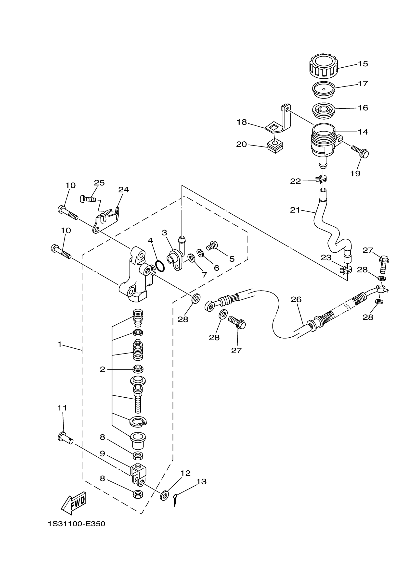
Yamaha YFM70RCCSL (RAPTOR 700R CAL) BFKH 2025 REAR MASTER CYLINDER Diagram
#
Description
Price
2
CYLINDER KIT, REAR MASTER
31A-W0042-50-00
Unavailable
3
JOINT
1AE-2582A-00-00
Unavailable
13
PIN, COTTER
91490-16020-00
Unavailable
16
DIAPHRAGM, RESERVOIR
2VN-25854-00-00
Unavailable
17
BUSH,DIAPHRAGM
2VN-25855-00-00
Unavailable
18
STAY
1S3-26292-00-00
Unavailable
19
BOLT, WITH WASHER
90119-06137-00
Unavailable
20
GROMMET
90480-15009-00
Unavailable
21
HOSE, RESERVOIR
1PE-F5895-00-00
Unavailable
22
CLIP (7K7)
90467-11044-00
Unavailable
23
CLIP (5K4)
90467-14057-00
Unavailable
24
COVER 1
1S3-27453-01-00
Unavailable
25
BOLT, BUTTON HEAD
92012-08016-00
Unavailable
26
HOSE, BRAKE 3
1PE-F5874-02-00
Unavailable
27
BOLT, UNION
90401-10015-00
Unavailable
28
WASHER, PLATE(481)
90201-10118-00
Unavailable
