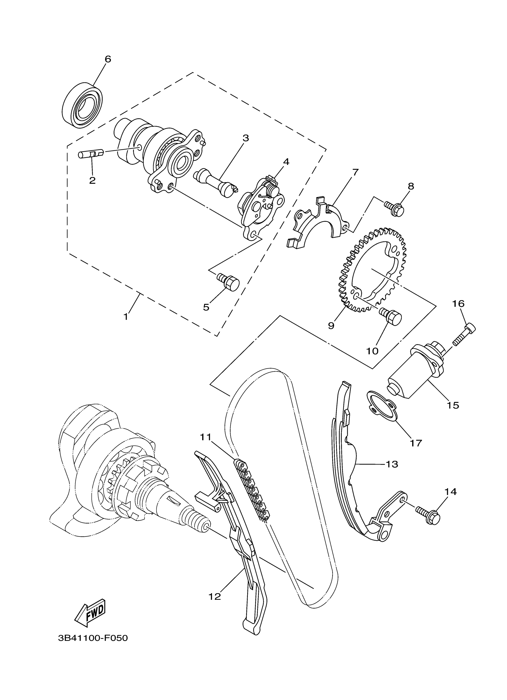
Yamaha YFM70KDXPG (KODIAK 700) B6KL 2023 CAMSHAFT & CHAIN Diagram
#
Description
Price
16
BOLT,SOCKET
91317-06025-00
Unavailable
17
GASKET, TENSIONER CASE
4DW-12213-00-00
Unavailable
#
16
91317-06025-00
Unavailable
17
4DW-12213-00-00
Unavailable
Edit ride
