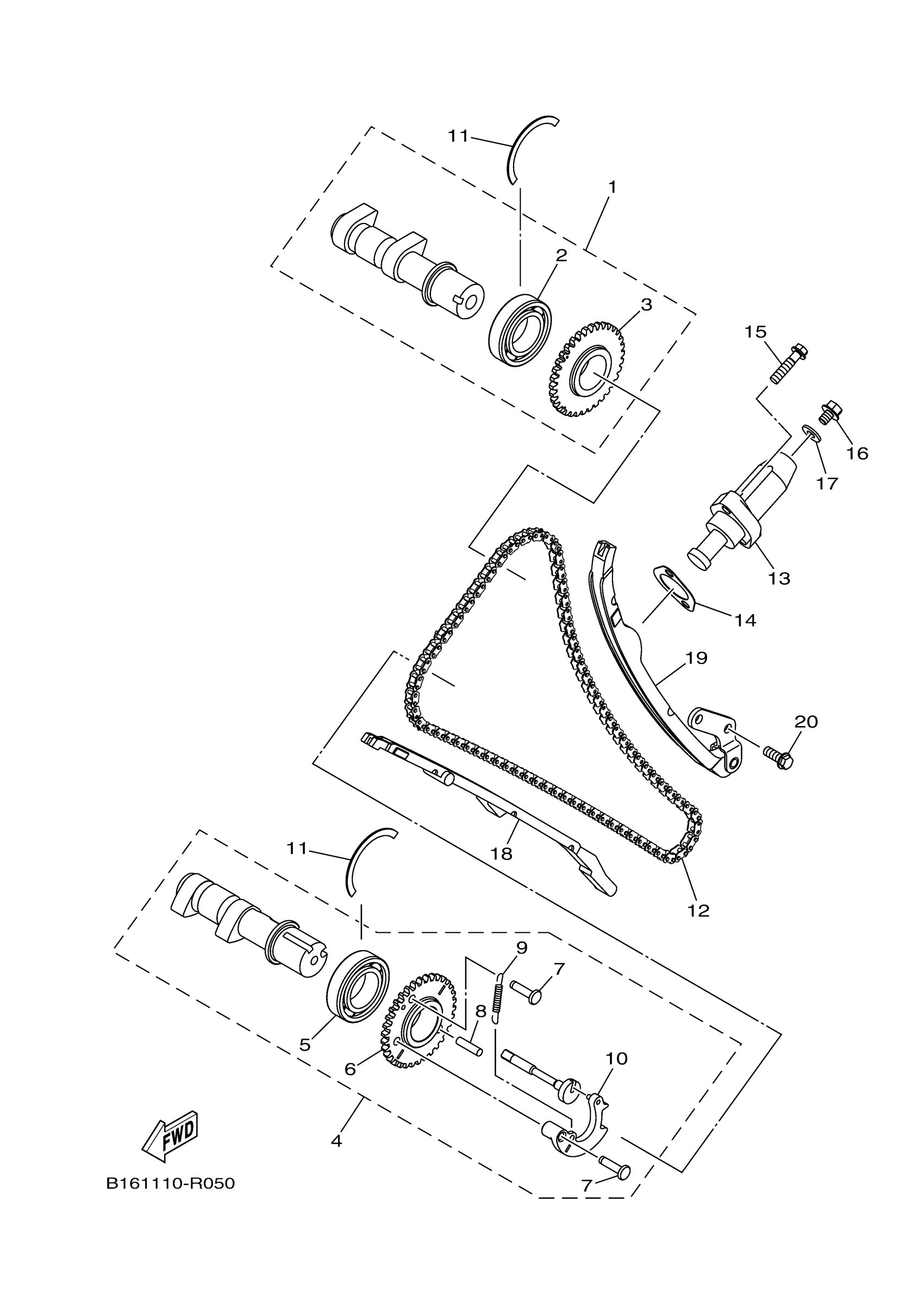
Yamaha YFM70GPXJD (GRIZZLY EPS) B1A7 2018 CAMSHAFT CHAIN Diagram
#
Description
Price
2
BEARING, CAMSHAFT
2MB-E2179-00-00
Unavailable
3
SPROCKET, CAM CHAI
2MB-E2176-00-00
Unavailable
5
BEARING, CAMSHAFT
2MB-E2179-00-00
Unavailable
6
SPROCKET, CAM CHAI
2MB-E2177-00-00
Unavailable
7
PIVOT
2MB-H431W-00-00
Unavailable
10
WEIGHT
2MB-E217A-00-00
Unavailable
15
BOLT 1
2MB-E5481-20-00
Unavailable
16
BOLT 1
2MB-E5481-00-00
Unavailable
17
GASKET
2MB-E21E2-00-00
Unavailable
18
DAMPER, CHAIN 1
2MB-E2251-00-00
Unavailable
19
DAMPER, CHAIN 2
2MB-E2252-00-00
Unavailable
20
BOLT 2
2MB-E5482-00-00
Unavailable
