- Partiron
- OEM Parts
- Yamaha
- atv
- 2020
- YFM70GPSLS (GRIZZLY EPS SPECIAL EDITION) BDEC 2020
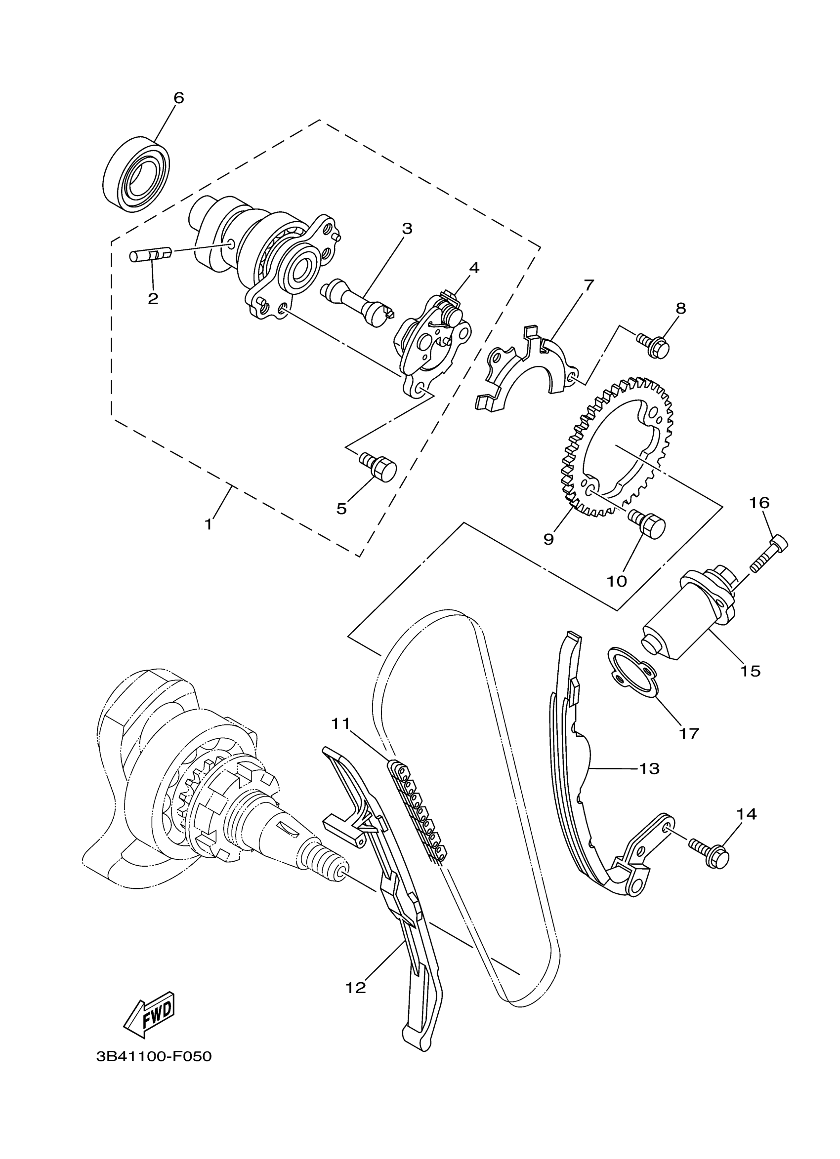
CAMSHAFT CHAIN
Yamaha YFM70GPSLS (GRIZZLY EPS SPECIAL EDITION) BDEC 2020 CAMSHAFT CHAIN Diagram
#
Description
Price
16
BOLT,SOCKET
91317-06025-00
Unavailable
17
GASKET, TENSIONER CASE
4DW-12213-00-00
Unavailable
