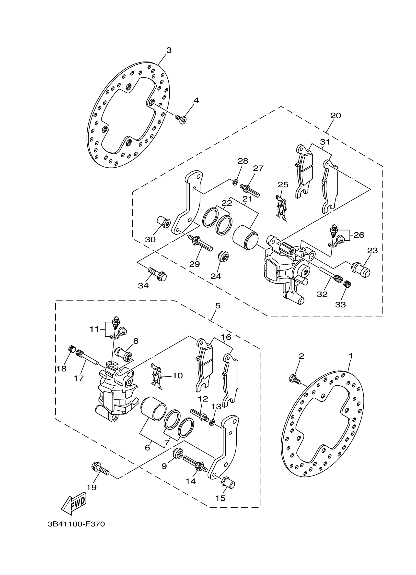
Yamaha YFM70GPAJW (GRIZZLY EPS) B1AB1 2018 REAR BRAKE CALIPER Diagram
#
Description
Price
13
WASHER, SPRING
1UY-25938-51-00
Unavailable
16
BRAKE PAD KIT 2
3B4-W0046-00-00
Unavailable
17
PIN, PAD
3GD-25933-00-00
Unavailable
18
PLUG
5DH-25916-00-00
Unavailable
19
BOLT, FLANGE
90105-08161-00
Unavailable
20
CALIPER ASSY, REAR 2
3B4-2580W-11-00
Unavailable
28
WASHER, SPRING
1UY-25938-51-00
Unavailable
31
BRAKE PAD KIT 2
3B4-W0046-10-00
Unavailable
32
PIN, PAD
3GD-25933-00-00
Unavailable
33
PLUG
5DH-25916-00-00
Unavailable
34
BOLT, FLANGE
90105-08161-00
Unavailable
