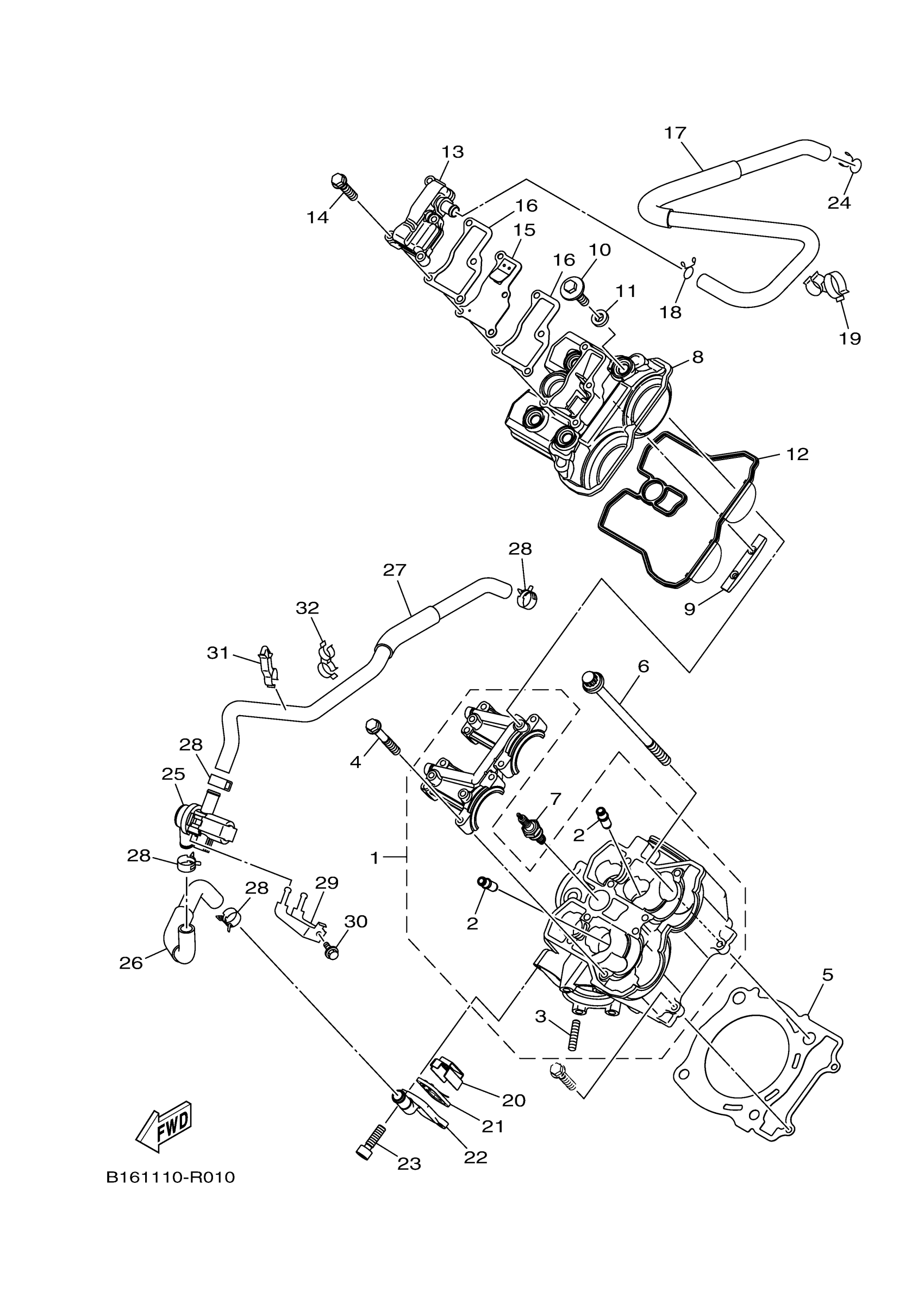
Yamaha YFM70GPAHW (GRIZZLY EPS) 2UDE1 2017 CYLINDER HEAD Diagram
#
Description
Price
7
PLUG, SPARK (NGK CPR7EA)
CPR-7EA90-00-00
Unavailable
8
COVER, CYLINDER HE
2MB-E1191-00-00
Unavailable
13
BREATHER ASSY
2MB-E1160-00-00
Unavailable
14
BOLT 1
2MB-E5481-20-00
Unavailable
15
REED VALVE ASSY
2MB-E3610-00-00
Unavailable
16
GASKET, COVER
2MB-E131B-00-00
Unavailable
17
PIPE, BREATHER 1
B16-E1166-00-00
Unavailable
18
CLIP
90467-140A4-00
Unavailable
19
CLAMP
90464-23002-00
Unavailable
20
PLATE
2MB-E482K-00-00
Unavailable
21
REED VALVE ASS
5JW-14890-00-00
Unavailable
22
CAP, CASE
2MB-E4889-00-00
Unavailable
23
BOLT,SOCKET HEAD
91314-06020-00
Unavailable
24
CLIP
90467-150A2-00
Unavailable
25
AIR CUT VALVE ASSY
2MB-14840-00-00
Unavailable
26
HOSE, BEND 2
2BG-E4882-00-00
Unavailable
27
HOSE, BEND 3
B16-E4883-00-00
Unavailable
28
CLIP(3TB)
90467-17128-00
Unavailable
29
STAY
2BG-F117A-00-00
Unavailable
30
BOLT, FLANGE
95817-06012-00
Unavailable
31
CLAMP
90464-17006-00
Unavailable
32
CLAMP
90464-18015-00
Unavailable
