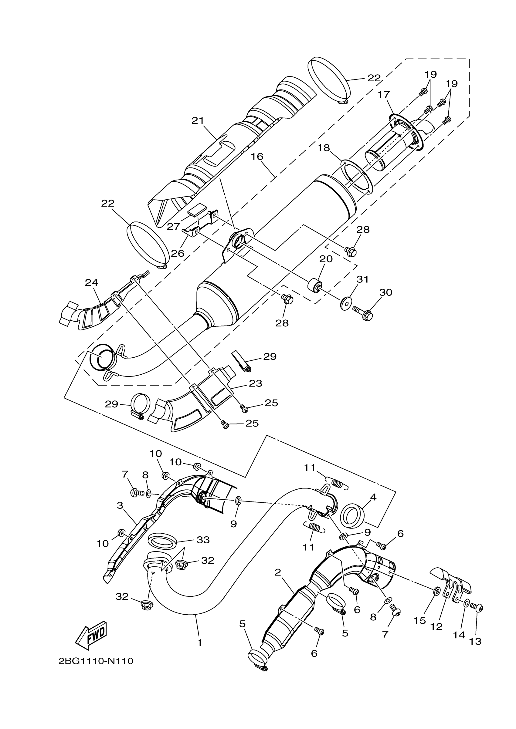
Yamaha YFM700PHFH (GRIZZLY 700 EPS HUNTER) B385 2015 EXHAUST Diagram
#
Description
Price
1
PIPE, EXHAUST 1
2BG-E4611-01-00
Unavailable
3
PROTECTOR, EXT. PIPE 2
2BG-E463B-00-00
Unavailable
12
PROTECTOR, SILENCE
1HP-E4758-00-00
Unavailable
16
MUFFLER COMP. 1
2BG-E4703-00-00
Unavailable
17
SPARK ARRESTER ASS
2BG-E4780-00-00
Unavailable
18
GASKET, SILENCER
2BG-E4755-00-00
Unavailable
19
BOLT, FLANGE
95022-06012-00
Unavailable
20
DAMPER,FOOTREST
1HP-F7414-00-00
Unavailable
21
PROTECTOR, MUFFLER
1HP-E4718-00-00
Unavailable
22
HOSE CLAMP ASSY
90450-99805-00
Unavailable
23
PROTECTOR ASSY 1
1HP-E471C-00-00
Unavailable
24
PROTECTOR ASSY., 2
1HP-E472C-00-00
Unavailable
26
STOPPER 1
1HP-E477U-00-00
Unavailable
27
MAT 1
1HP-E4733-00-00
Unavailable
28
BOLT, FLANGE
95817-08012-00
Unavailable
30
BOLT, FLANGE
95817-08040-00
Unavailable
31
WASHER
3B4-14759-01-00
Unavailable
32
NUT,FLANGE(J10)
95702-08500-00
Unavailable
33
GASKET, EXHAUST PIPE
3EG-14613-00-00
Unavailable
