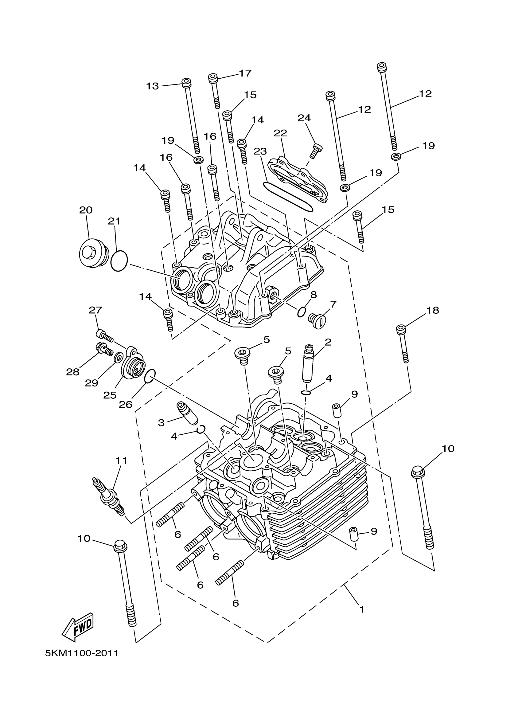
Yamaha YFM66FAT (GRIZZLY 660) 5KMU 2005 CYLINDER HEAD Diagram
#
Description
Price
11
DPR8EA-9 NGK 10PK
DPR-8EA90-00-00
Unavailable
13
BOLT,SOCKET
91317-06115-00
Unavailable
16
BOLT,SOCKET
91317-06055-00
Unavailable
17
BOLT(2NX)
90109-063E9-00
Unavailable
18
BOLT,SOCKET
91317-06050-00
Unavailable
19
WASHER(6TA)
92907-06600-00
Unavailable
20
COVER, CYLINDER HEAD SIDE
1L9-11186-00-00
Unavailable
21
O-RING (341)
93210-32172-00
Unavailable
22
COVER, CYLINDER HEAD SIDE 3
3YF-11187-00-00
Unavailable
23
O-RING (2H7)
93210-71360-00
Unavailable
24
BOLT,SOCKET
91317-06018-00
Unavailable
25
CAP, TENSIONER CASE
3TB-12215-01-00
Unavailable
26
O-RING (5Y1)
93210-19522-00
Unavailable
27
BOLT,SOCKET
91317-06020-00
Unavailable
28
BOLT UNION 137131650000
90401-06001-00
Unavailable
29
GASKET (4V2)
90430-06166-00
Unavailable
