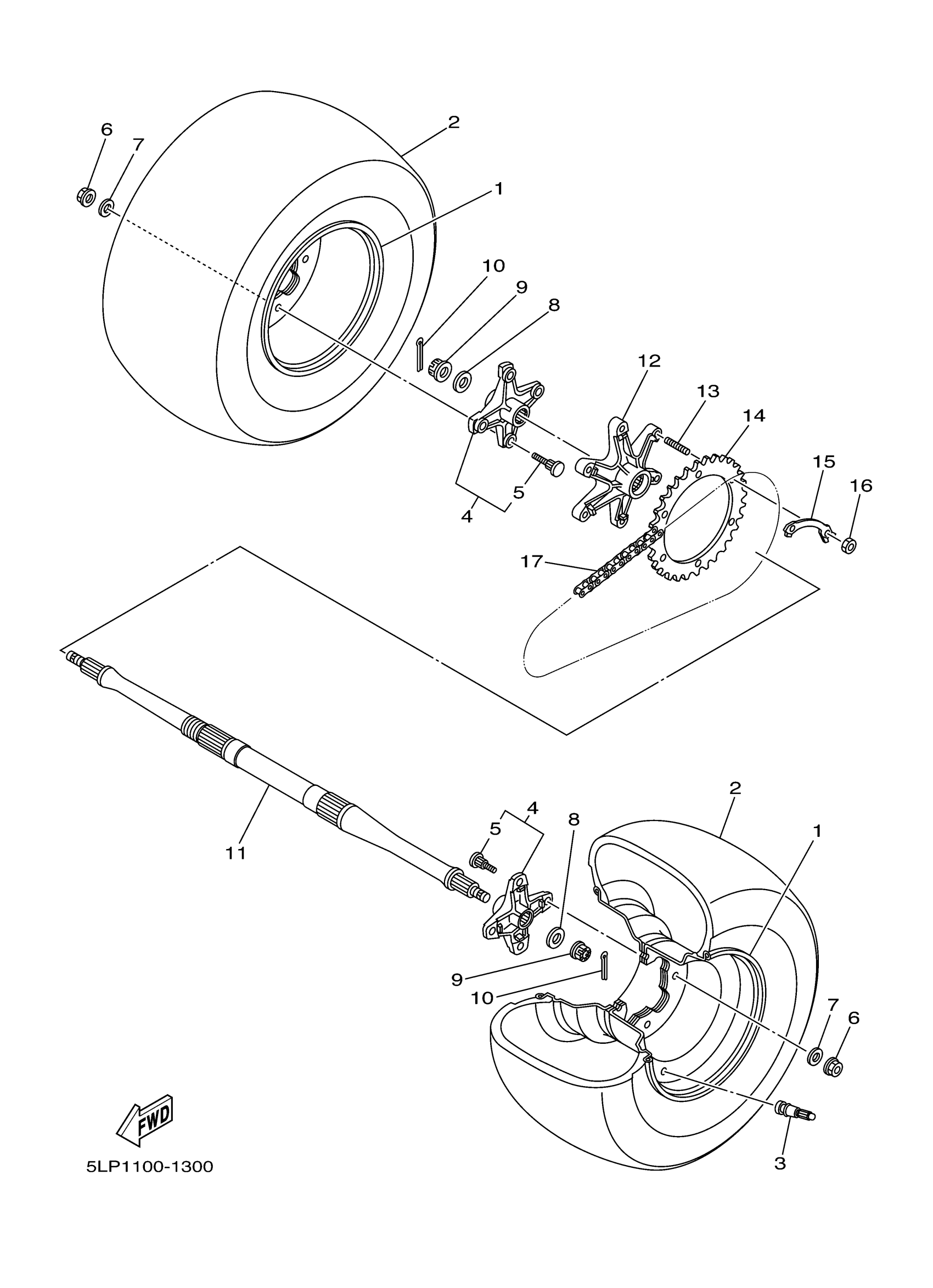
Yamaha YFM660RP (660R RAPTOR) 5LP5 2002 REAR WHEEL Diagram
#
Description
Price
1
REAR WHEEL COMP.
5LP-25390-11-YX
Unavailable
2
TIRE (AT20 X 10-9** KT335 T/L)
94110-09008-00
Unavailable
11
AXLE, WHEEL
5LP-25381-10-00
Unavailable
16
NUT (3Y2)
90170-08258-00
Unavailable
17
CHAIN
94582-02092-00
Unavailable
