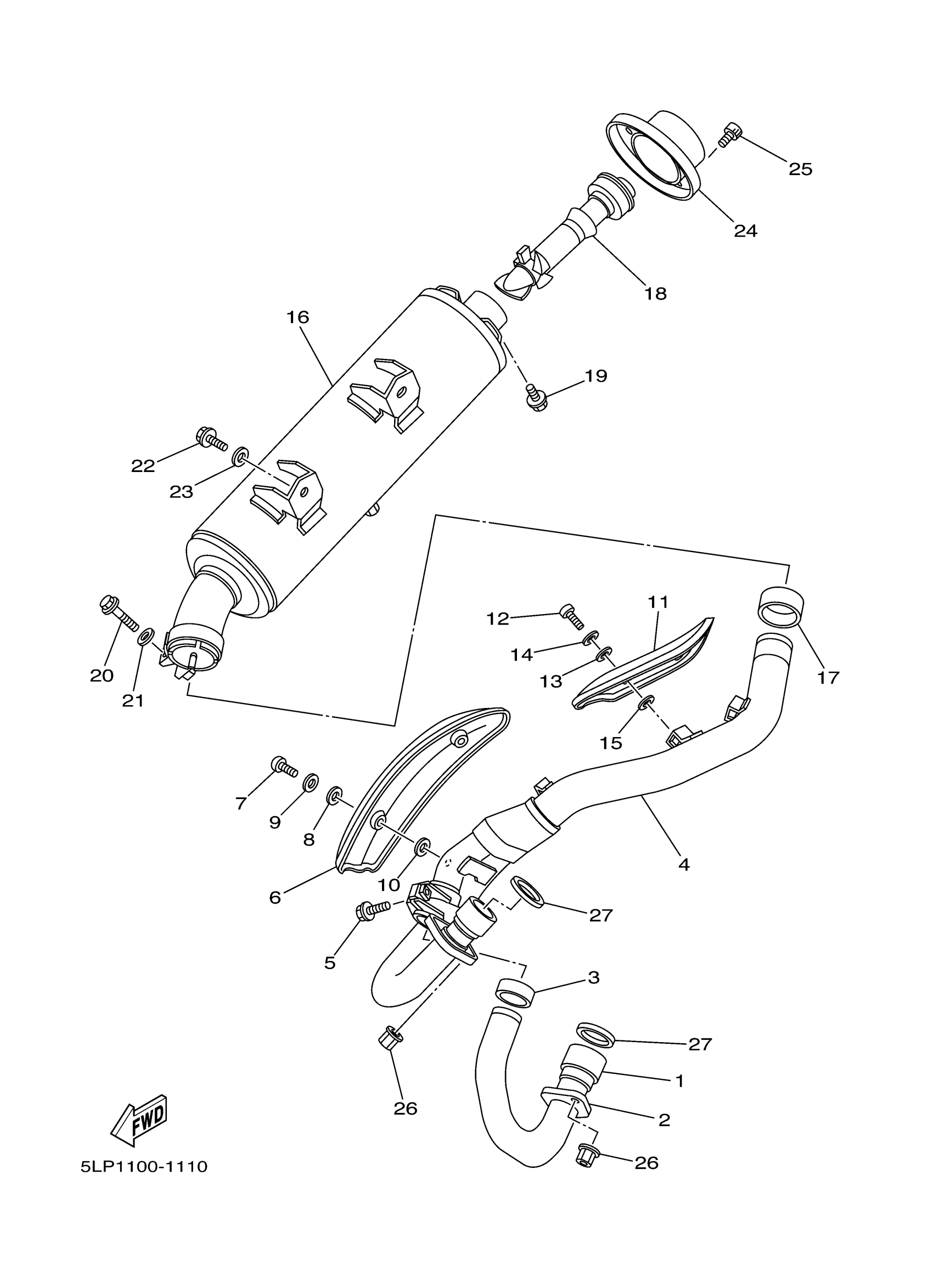
Yamaha YFM660RNC (660R RAPTOR) 5LP3 2001 EXHAUST Diagram
#
Description
Price
1
PIPE, EXHAUST 1
5LP-14611-00-00
Unavailable
2
NUT, RING
3YF-14612-00-00
Unavailable
4
PIPE, EXHAUST 2
5LP-14621-00-00
Unavailable
16
MUFFLER 1
5LP-14711-00-00
Unavailable
17
GASKET, MUFFLER
5LP-14714-00-00
Unavailable
18
PIPE, OUTLET
5LP-14752-00-00
Unavailable
19
BOLT, SMALL FLANGE
95027-06008-00
Unavailable
20
BOLT, FLANGE
95817-08040-00
Unavailable
21
WASHER, PLATE(47X)
90201-086J0-00
Unavailable
22
BOLT, FLANGE(8AB)
95817-08020-00
Unavailable
23
WASHER (853)
90201-08326-00
Unavailable
24
CAP, SILENCER
5LP-14787-10-00
Unavailable
25
BOLT, HEXAGON SOCKET HEAD(1WG)
90110-06134-00
Unavailable
26
NUT(2UJ)
90179-06668-00
Unavailable
27
GASKET, EXHAUST PIPE
3YF-14613-01-00
Unavailable
