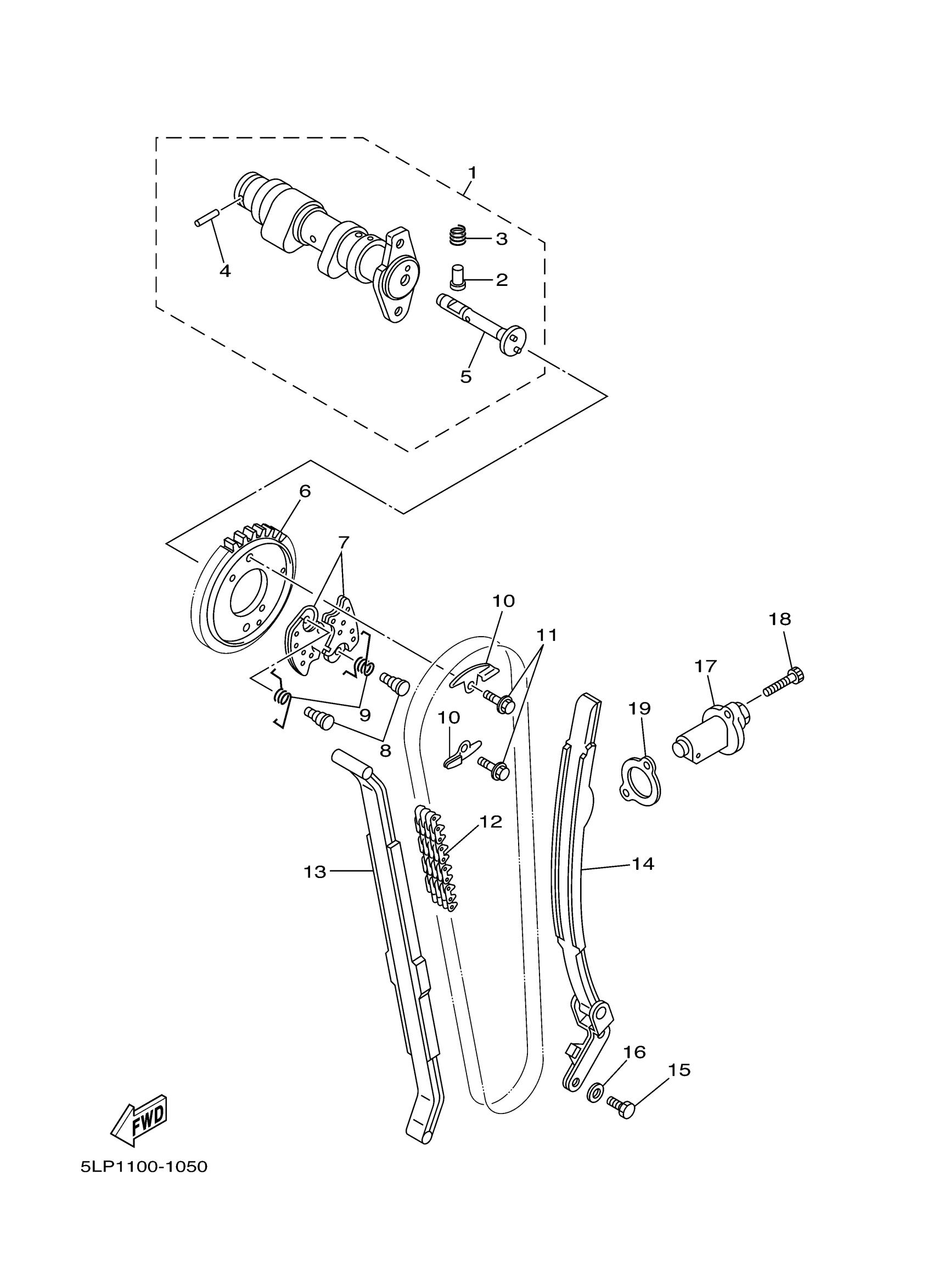
Yamaha YFM660RNC (660R RAPTOR) 5LP3 2001 CAMSHAFT CHAIN Diagram
#
Description
Price
1
CAMSHAFT ASSY 1
5LP-12170-00-00
Unavailable
2
PIN, DECOMPRESSION LEVER
3YF-12284-00-00
Unavailable
7
CAM, DECOMPRESSION
3YF-12288-00-00
Unavailable
8
SHAFT, TENSIONER
3YF-12247-00-00
Unavailable
9
SPRING
5LP-12216-00-00
Unavailable
13
GUIDE, STOPPER 1
34K-12231-01-00
Unavailable
16
WASHER(6TA)
92907-06600-00
Unavailable
17
TENSIONER ASSY, CAM CHAIN
3TB-12210-00-00
Unavailable
18
BOLT,SOCKET
91317-06025-00
Unavailable
19
GASKET, TENSIONER CASE
4DW-12213-00-00
Unavailable
