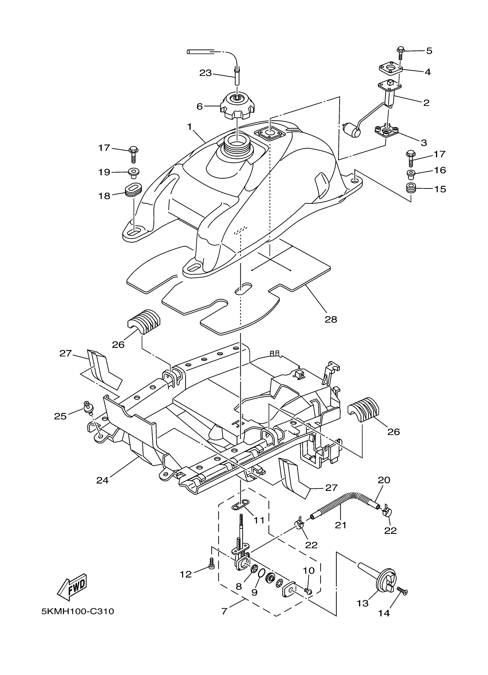
Yamaha YFM660FS (GRIZZLY 660) 5KMH 2004 FUEL TANK Diagram
#
Description
Price
1
FUEL TANK COMP.
5KM-24110-00-00
Unavailable
4
RETAINER
2JG-85757-00-00
Unavailable
10
SCREW, PAN HEAD
98507-03014-00
Unavailable
16
COLLAR (36R)
90387-066J1-00
Unavailable
17
BOLT, FLANGE
95817-06030-00
Unavailable
18
GROMMET(38W)
90480-01400-00
Unavailable
19
COLLAR (17W)
90387-075H4-00
Unavailable
20
PIPE, FUEL 1
5KM-24311-10-00
Unavailable
21
PROTECTOR, PIPE
5KM-24327-02-00
Unavailable
22
CLIP (7K7)
90467-11044-00
Unavailable
23
HOSE (L410)
90445-09023-00
Unavailable
24
DAMPER, PLATE 1
5KM-2414H-00-00
Unavailable
25
RIVET(4JH)
90269-07076-00
Unavailable
26
DAMPER, LOCATING 1
5KM-24181-00-00
Unavailable
27
DAMPER, LOCATING 2
5KM-24182-00-00
Unavailable
28
Insulator, Fuel Tank 1
5KM-2416F-01-00
Unavailable
