Yamaha YFM660FPS (GRIZZLY 600 METALLIC SILVER) 5KM6 2002 CARBURETOR Diagram
#
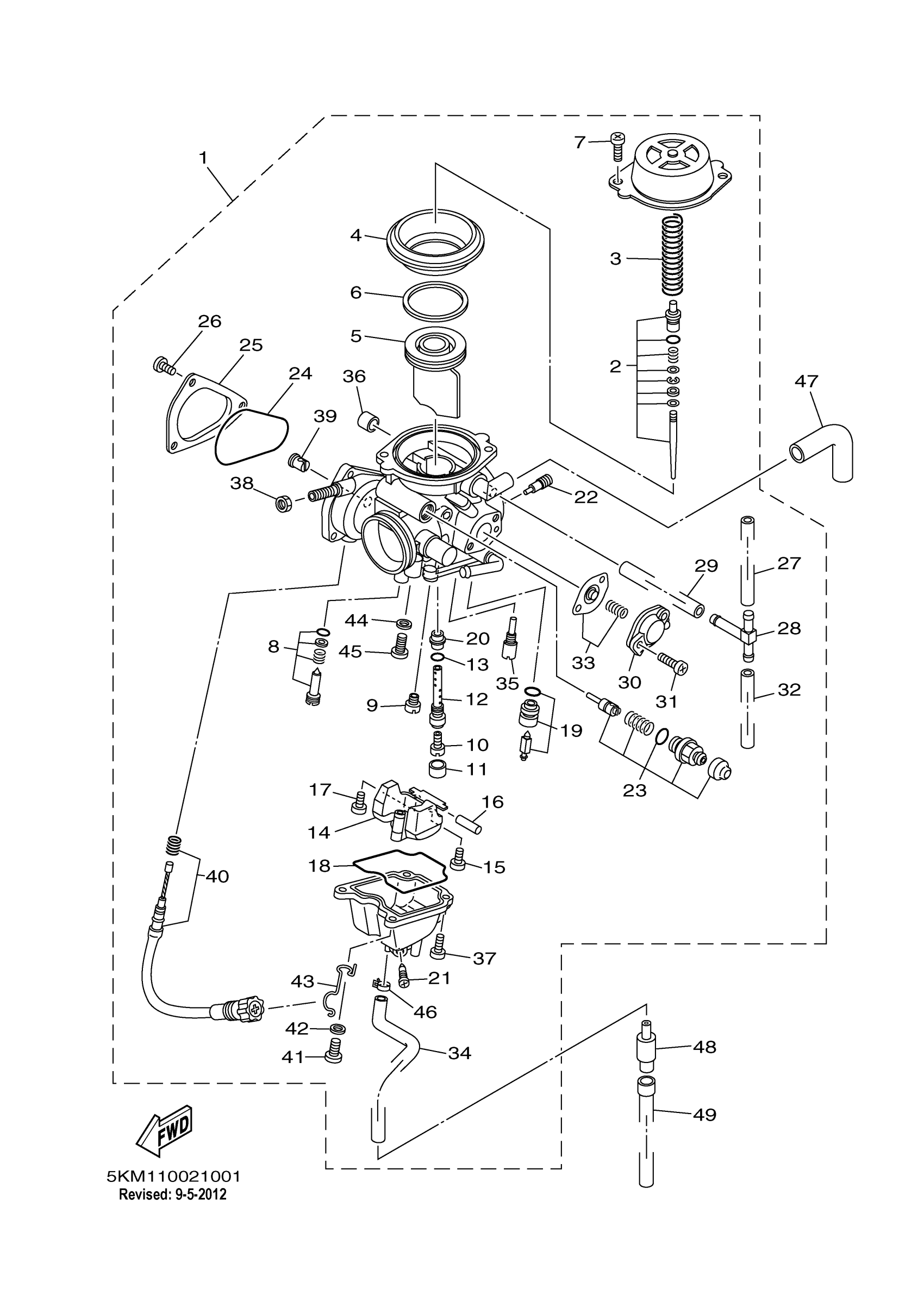
1
CARBURETOR ASSY 1
5KM-14901-00-00
Unavailable
5
VALVE, THROTTLE
5KM-14912-00-00
Unavailable
11
RING
5GH-14918-00-00
Unavailable
12
HOLDER
5GH-14261-00-00
Unavailable
16
PIN, FLOAT
127-14186-00-00
Unavailable
17
SCREW
1FN-14565-00-00
Unavailable
18
O-RING
5DM-14561-00-00
Unavailable
19
NEEDLE VALVE ASSY
2C6-14190-30-00
Unavailable
20
NOZZLE, MAIN
5DM-14141-30-00
Unavailable
21
PLUG, DRAIN
12R-14191-00-00
Unavailable
22
JET, MAIN (# 60)
1HX-14231-12-00
Unavailable
23
STARTER SET
5KM-1410A-00-00
Unavailable
24
O-RING
4WV-14147-10-00
Unavailable
25
COVER 1
4WV-14293-00-00
Unavailable
27
PIPE
5KM-14197-20-00
Unavailable
28
PIPE
28V-14988-00-00
Unavailable
29
PIPE
3LF-14197-00-00
Unavailable
30
COVER, CARBURETOR
5AP-14280-00-00
Unavailable
31
SCREW,W/WASHER
97607-04114-00
Unavailable
32
PIPE
5KM-14197-10-00
Unavailable
33
DIAPHRAGM SET 5
5KM-1490H-00-00
Unavailable
34
. PIPE
5KM-14193-00-00
Unavailable
35
JET, PILOT (# 40)
4KM-14142-40-00
Unavailable
36
CAP
5KM-14968-00-00
Unavailable
37
SCREW, PAN HEAD(6G8)
98507-04010-00
Unavailable
38
NUT, CABLE ADJUSTING
522-14161-00-00
Unavailable
39
GUIDE, CABLE
1UY-14155-00-00
Unavailable
40
THROTTLE SCREW SET
5KM-14103-00-00
Unavailable
41
SCREW, PAN HEAD(N15)
98507-04014-00
Unavailable
42
WASHER(JF2)
92907-04600-00
Unavailable
43
CLIP
5KM-14937-00-00
Unavailable
44
WASHER
256-14956-01-00
Unavailable
45
SCREW
3DM-14216-00-00
Unavailable
46
CLIP
90467-06194-00
Unavailable
47
PIPE
4WV-14349-00-00
Unavailable
48
PIPE 2,OVERFLOW
24W-14193-00-00
Unavailable
49
TUBE, FLEXIBLE(3NV)
91A21-07020-00
Unavailable
