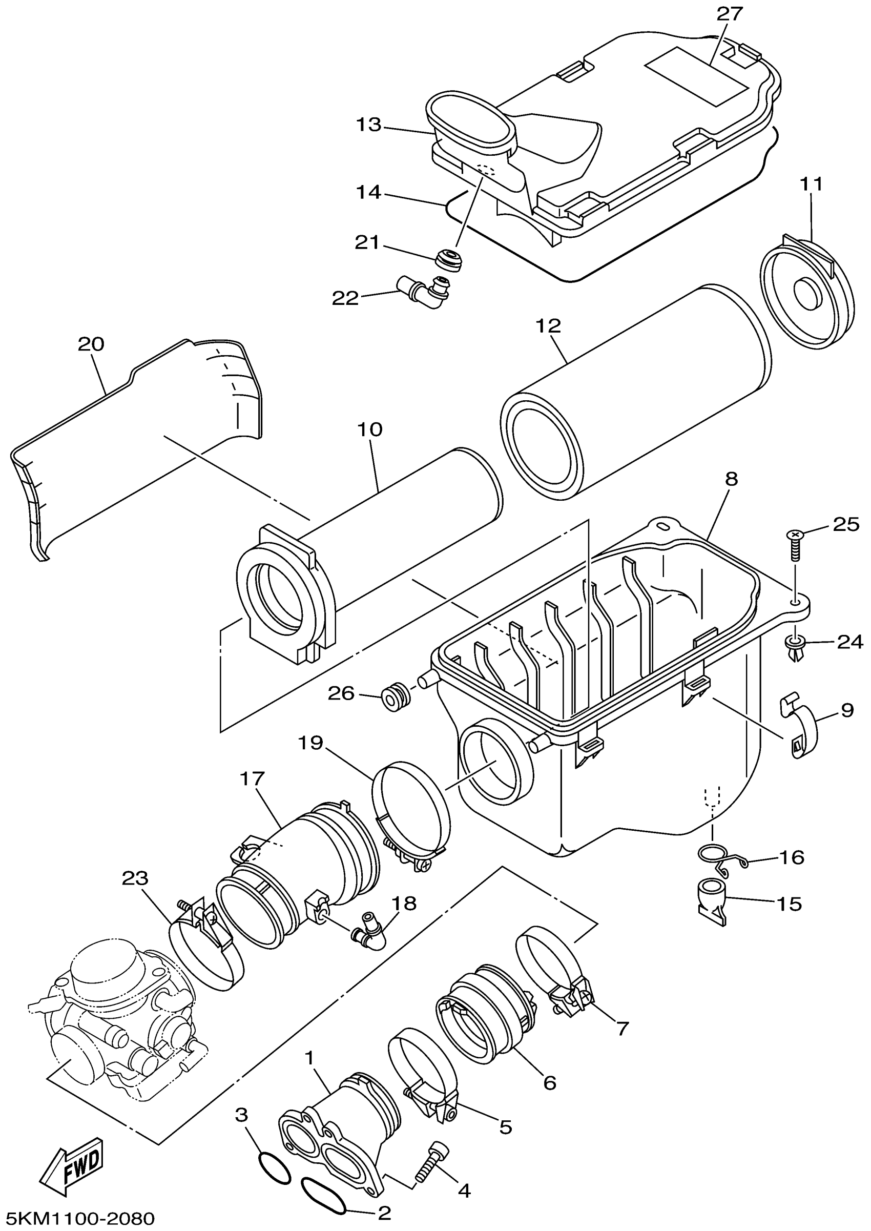
Yamaha YFM660FP (GRIZZLY 660) 5KM1 2002 INTAKE Diagram
#
Description
Price
4
BOLT,SOCKET
91317-06020-00
Unavailable
16
CLIP (21V)
90467-22080-00
Unavailable
17
JOINT, AIR CLEANER 1
5KM-14453-01-00
Unavailable
18
PIPE
31A-14419-00-00
Unavailable
19
HOSE CLAMP ASSY
90450-75002-00
Unavailable
20
PROTECTOR
5KM-1442F-01-00
Unavailable
21
GROMMET
31A-14435-01-00
Unavailable
22
PIPE
5KM-14419-00-00
Unavailable
23
HOSE CLAMP ASSY
90450-67002-00
Unavailable
24
PLUG(4BP)
90338-08226-00
Unavailable
25
SCREW, TRUSS TAP.
97707-60025-00
Unavailable
26
GROMMET (4V1)
90480-18290-00
Unavailable
27
PLATE, EPA 3 (CALIFORNIA)
5KM-2179T-00-00
Unavailable
