Yamaha YFM600FWALC (GRIZZLY) 5GT2 1999 SHIFT SHAFT Diagram
#
Description
Price
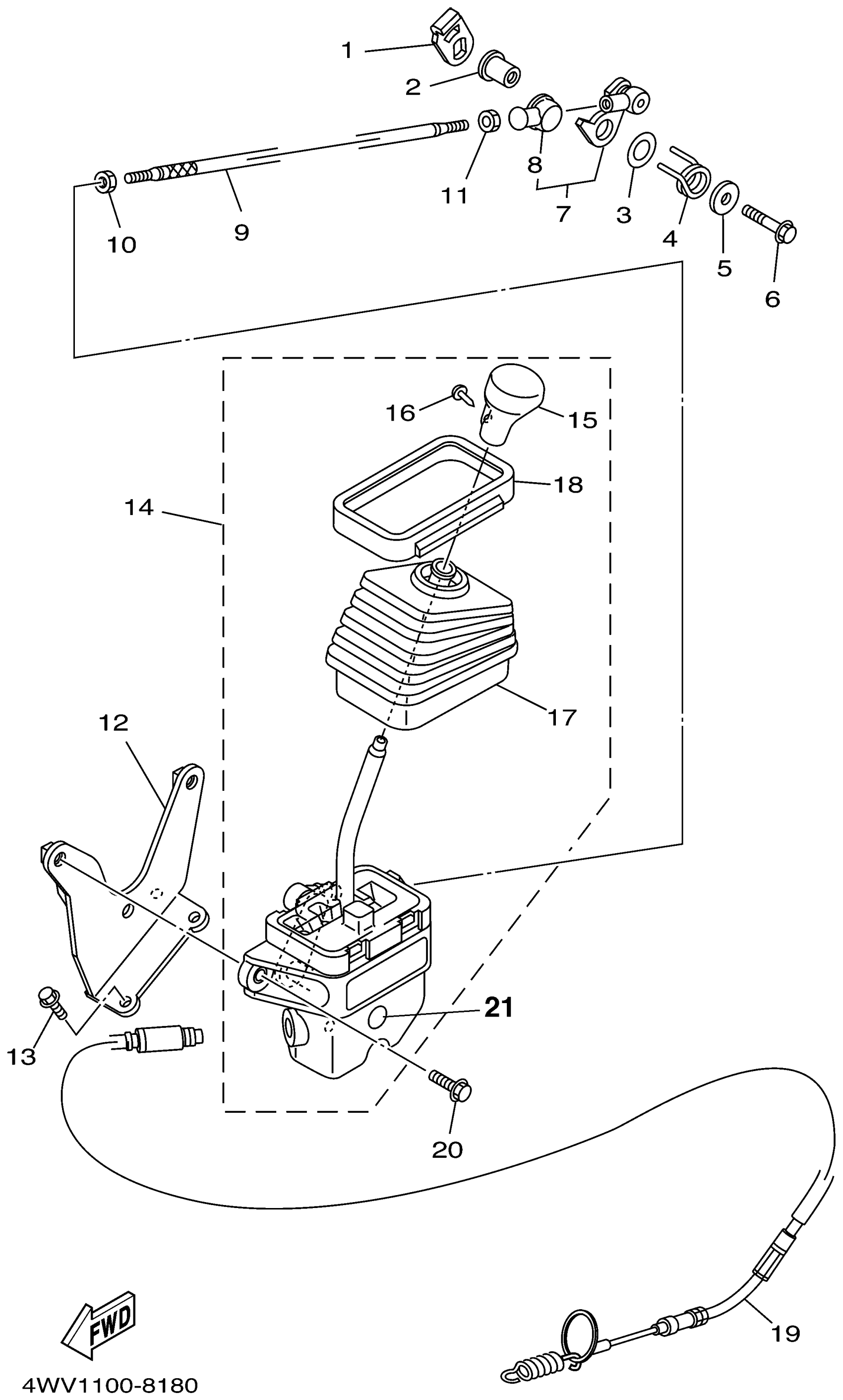
5
WASHER, PLATE
90201-06M02-00
Unavailable
7
LEVER
4WV-18191-00-00
Unavailable
12
BRACKET, SHIFTER
4WV-18431-00-00
Unavailable
14
SHIFTER ASSY
4WV-18300-03-00
Unavailable
15
. KNOB, SHIFT LEVER
4WV-18174-00-00
Unavailable
16
RIVET(81E)
90269-05055-00
Unavailable
17
. BOOT, SEALING
4WV-18131-00-00
Unavailable
18
STOPPER, RUBBER
4WV-18617-01-00
Unavailable
19
CABLE, CONTROL 2
5GT-2637F-00-00
Unavailable
20
BOLT, FLANGE(8AB)
95817-08020-00
Unavailable
21
NUT, LOCK
4WV-18415-00-00
Unavailable
