Yamaha YFM600FWAKC (GRIZZLY) 4WV11 1998 FRONT FENDER Diagram
#
Description
Price
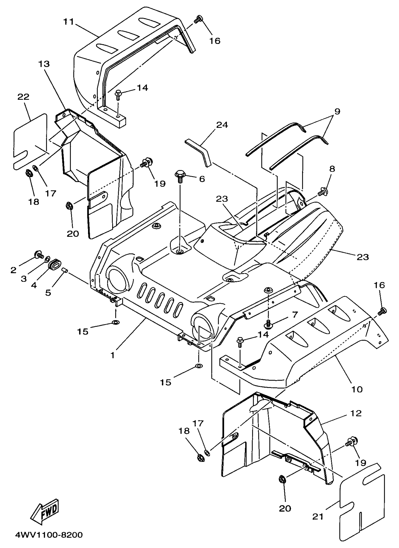
1
FENDER, FRONT COMP. (RTR)
4WV-W2151-01-00
Unavailable
1
FENDER, FRONT COMP. (PDG)
4WV-W2151-11-00
Unavailable
1
FENDER, FRONT COMP. (DNYS1)
4WV-W2151-21-00
Unavailable
8
SCREW, W/WASHER (14T)
90159-06059-00
Unavailable
10
FENDER, OVER
4WV-21551-00-00
Unavailable
11
FENDER, OVER 2
4WV-21555-00-00
Unavailable
12
FENDER, OVER 3
4WV-21559-00-00
Unavailable
13
FENDER, OVER 4
4WV-21560-00-00
Unavailable
14
RIVET(4JH)
90269-07076-00
Unavailable
15
WASHER, PLATE(J41)
90201-076J4-00
Unavailable
16
SCREW, BINDING (8R1)
90154-05011-00
Unavailable
17
WASHER, PLATE 8067717800
90201-05029-00
Unavailable
18
NUT, NYLON
95707-05300-00
Unavailable
19
BOLT, WITH WASHER(8V7)
90119-06108-00
Unavailable
20
NUT, FLANGE(4MV)
95707-06500-00
Unavailable
21
DAMPER 1
4WV-21541-00-00
Unavailable
22
DAMPER 2
4WV-21542-00-00
Unavailable
23
PLATE 1
4WV-21543-00-00
Unavailable
24
DAMPER 1
88T-77198-00-00
Unavailable
