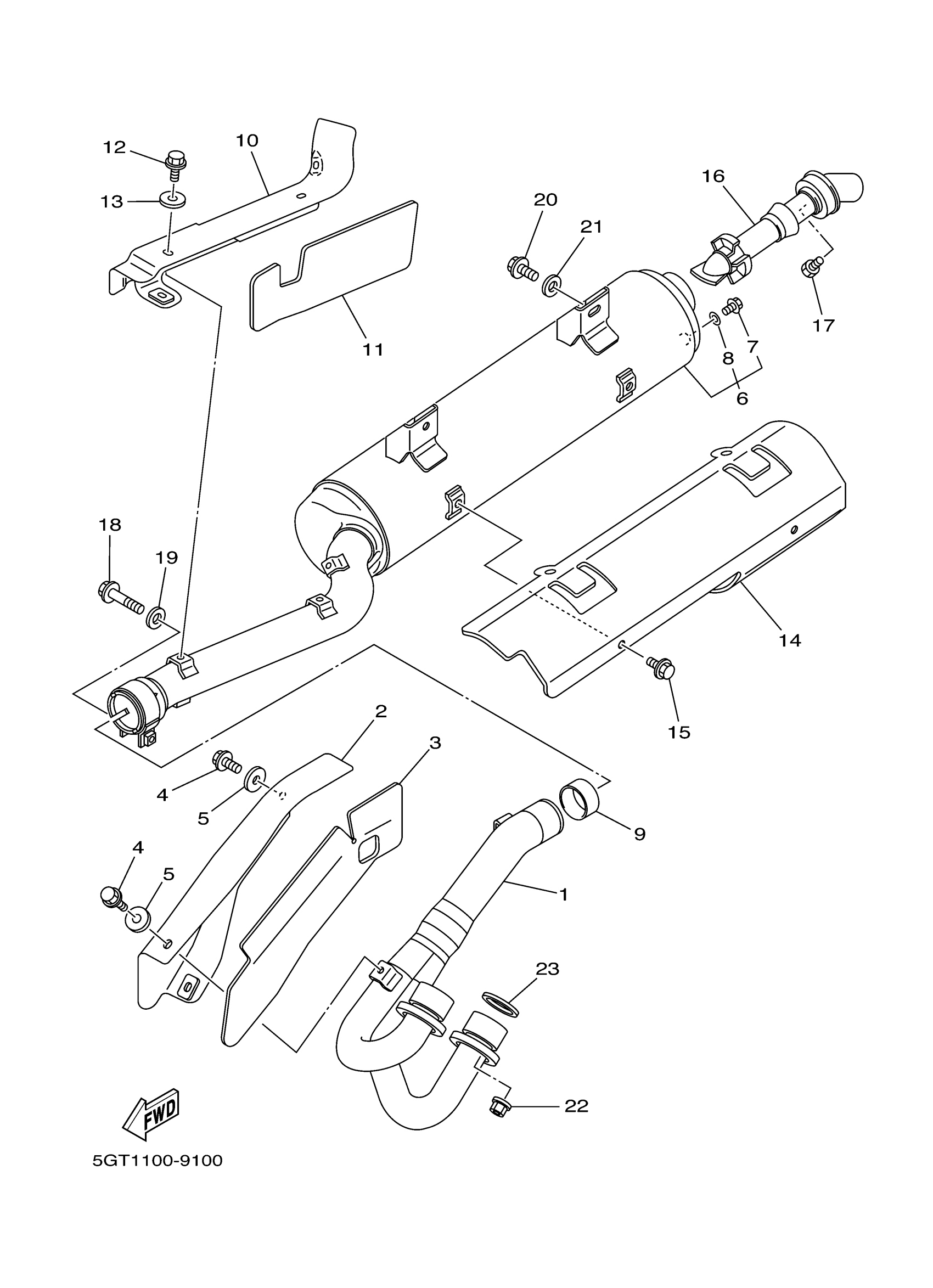
Yamaha YFM600FMC (GRIZZLY) 5GT7 2000 EXHAUST Diagram
#
Description
Price
1
PIPE, EXHAUST 1
4WV-14611-00-00
Unavailable
2
PROTECTOR, EXHAUST PIPE
4WV-14628-00-00
Unavailable
3
PLATE, PROTECTOR
4WV-1465R-01-00
Unavailable
6
MUFFLER 1
5GT-14711-00-00
Unavailable
7
. BOLT, FLANGE
95885-10014-00
Unavailable
8
WASHER, PLATE
92990-10600-00
Unavailable
10
PROTECTOR, MUFFLER
4WV-14728-01-00
Unavailable
11
PLATE, PROTECTOR
4WV-1465T-01-00
Unavailable
14
PROTECTOR, MUFFLER 1
5GT-14718-00-00
Unavailable
16
PIPE, OUTLET
4WV-14752-00-00
Unavailable
17
BOLT,HEXAGON
97017-06008-00
Unavailable
18
BOLT, FLANGE(JN5)
95817-08045-00
Unavailable
19
WASHER, PLATE(47X)
90201-086J0-00
Unavailable
20
BOLT, FLANGE(8AB)
95817-08020-00
Unavailable
21
WASHER (853)
90201-08326-00
Unavailable
22
NUT(2UJ)
90179-06668-00
Unavailable
23
GASKET, EXHAUST PIPE
3YF-14613-01-00
Unavailable
