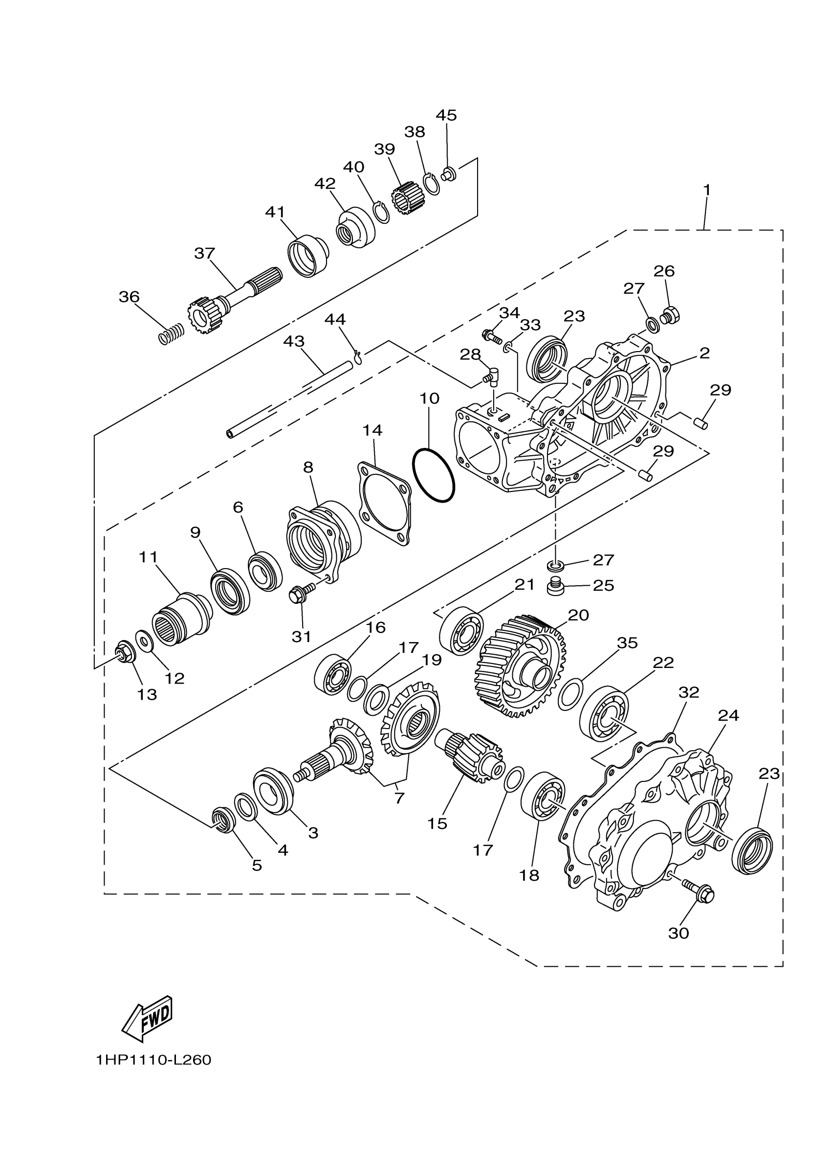
Yamaha YFM5FGPBGR (GRIZLY 550 EPS 4WD) 1HS1 2012 DRIVE SHAFT Diagram
#
6
BEARING TAPER 52-25 (70R)
93332-00053-00
Unavailable
14
SHIM, DRIVE PISTON (0.40T)
2HR-46127-00-40
Unavailable
14
SHIM, DRIVE PISTON (0.40T)
2HR-46127-00-40
Unavailable
14
SHIM, DRIVE PISTON (0.50T)
2HR-46127-00-50
Unavailable
14
SHIM, DRIVE PISTON (0.50T)
2HR-46127-00-50
Unavailable
15
GEAR, PINION 1
3B4-46316-00-00
Unavailable
16
BEARING (6K8)
93306-205U1-00
Unavailable
17
SHIM, THRUST (0.25T)
3B4-46119-00-00
Unavailable
17
SHIM, THRUST (0.30T)
3B4-46119-10-00
Unavailable
17
SHIM, THRUST (0.35T)
3B4-46119-20-00
Unavailable
17
SHIM, THRUST (0.40T)
3B4-46119-30-00
Unavailable
17
SHIM, THRUST (0.45T)
3B4-46119-40-00
Unavailable
17
SHIM, THRUST (0.50T)
3B4-46119-50-00
Unavailable
18
BEARING(3RR)
93306-30560-00
Unavailable
19
SHIM,THRUST (4.5T)
3B4-4621F-00-00
Unavailable
19
SHIM,THRUST (4.8T)
3B4-4621F-10-00
Unavailable
19
SHIM,THRUST (5.1T)
3B4-4621F-20-00
Unavailable
19
SHIM,THRUST (5.4T)
3B4-4621F-30-00
Unavailable
20
GEAR, WHEEL 1
3B4-46326-01-00
Unavailable
21
BRG,R-B 6007 62MM 150G KY
93306-00702-00
Unavailable
22
BRG,R-B 6207 72MM 280G (688)
93306-207U0-00
Unavailable
24
HOUSING, BEARING
3B4-46152-00-00
Unavailable
25
PLUG, STRAIGHT SCREW
90340-14002-00
Unavailable
26
PLUG, STRAIGHT(2E9)
90340-14029-00
Unavailable
27
GASKET
214-11198-01-00
Unavailable
28
BREATHER
5UG-15371-00-00
Unavailable
29
PIN, DOWEL(3VD)
99530-10114-00
Unavailable
30
BOLT, FLANGE
95822-08035-00
Unavailable
31
BOLT, FLANGE(4LN)
95817-08025-00
Unavailable
32
GSKT., CASE
3B4-4631A-01-00
Unavailable
33
WASHER, PLATE 3411117500
90201-08087-00
Unavailable
34
BOLT, FLANGE
95022-08012-00
Unavailable
35
SHIM (0.25T)
3B4-46344-00-00
Unavailable
35
SHIM (0.30T)
3B4-46344-10-00
Unavailable
35
SHIM (0.35T)
3B4-46344-20-00
Unavailable
35
SHIM (0.40T)
3B4-46344-30-00
Unavailable
35
SHIM (0.45T)
3B4-46344-40-00
Unavailable
35
SHIM (0.50T)
3B4-46344-50-00
Unavailable
36
SPRING, COMPRESSION (400)
90501-20361-00
Unavailable
37
SHAFT, DRIVE
1HP-G6172-00-00
Unavailable
38
CIRCLIP(1EY)
99009-19400-00
Unavailable
39
COUPLING
5KM-46126-00-00
Unavailable
40
CIRCLIP (537)
93410-22039-00
Unavailable
41
SEAL 2
5KM-46137-00-00
Unavailable
42
SEAL 1
5KM-46136-00-00
Unavailable
43
HOSE (L1700)
90445-070G6-00
Unavailable
44
CLIP (1J7)
90467-07029-00
Unavailable
45
DAMPER
5KM-46559-00-00
Unavailable
