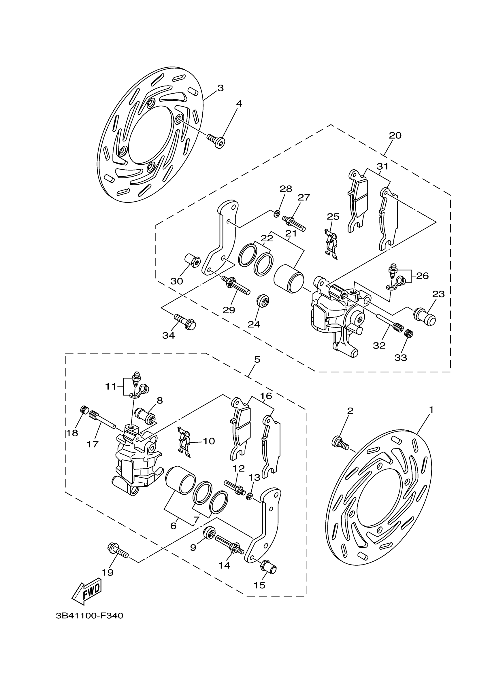
Yamaha YFM5FGAL (GRIZZLY 550 4WD) 28PG 2011 FRONT BRAKE CALIPER Diagram
#
Description
Price
13
WASHER, SPRING
1UY-25938-51-00
Unavailable
16
BRAKE PAD KIT
3B4-W0045-00-00
Unavailable
17
PIN, PAD
5DH-25933-00-00
Unavailable
18
BOLT
8CR-25926-00-00
Unavailable
19
BOLT, FLANGE
90105-08184-00
Unavailable
20
CALIPER ASSY (RIGHT)
3B4-2580U-02-00
Unavailable
28
WASHER, SPRING
1UY-25938-51-00
Unavailable
31
BRAKE PAD KIT
3B4-W0045-10-00
Unavailable
32
PIN, PAD
5DH-25933-00-00
Unavailable
33
BOLT
8CR-25926-00-00
Unavailable
34
BOLT, FLANGE
90105-08184-00
Unavailable
