Partiron

Yamaha YFM550PER (GRIZZLY 550 FI EPS) 2LB11 2014 STARTING MOTOR Diagram

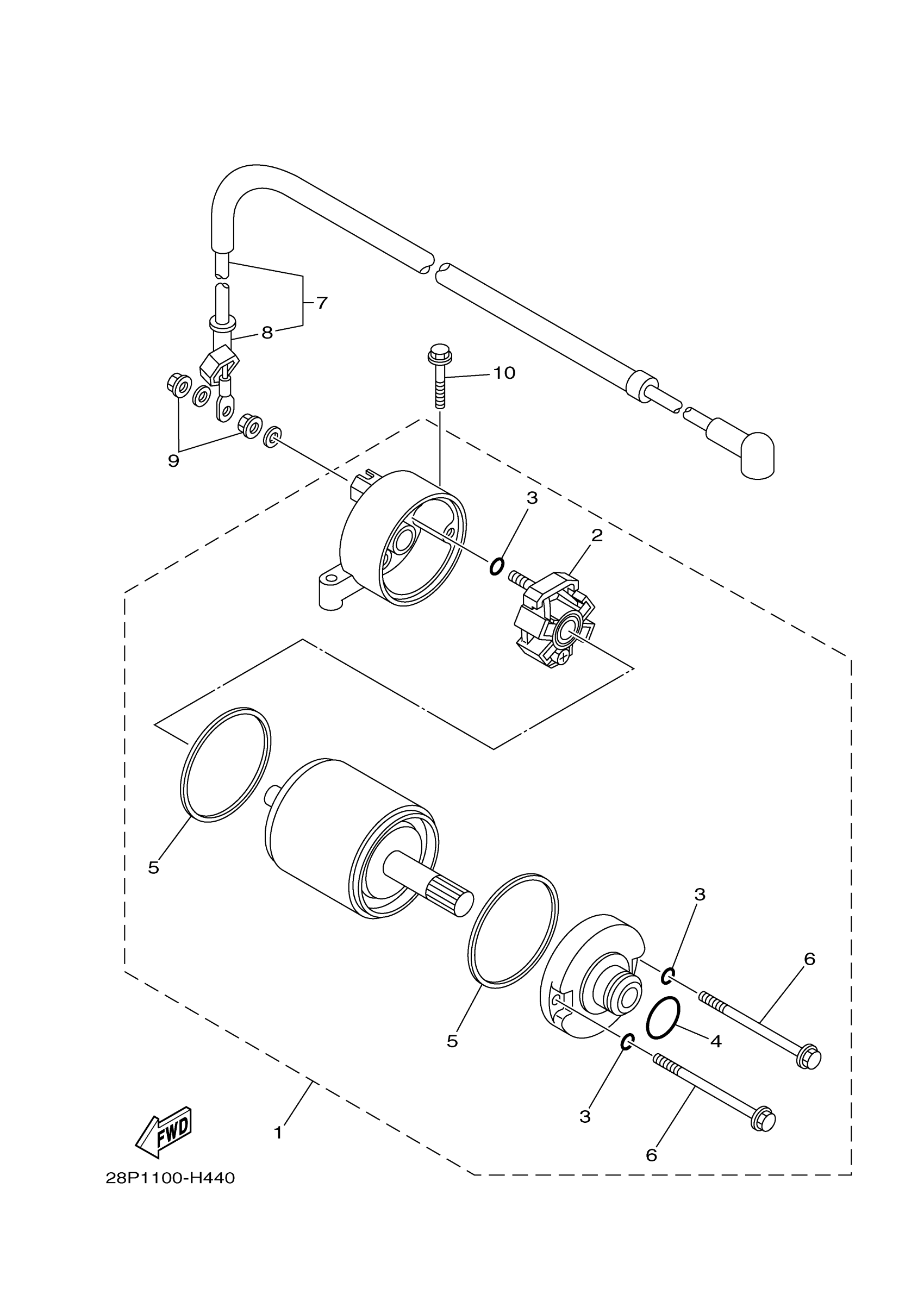
#

Description
Price

1

MOTOR ASSY

28P-81890-01-00

$255.99

2

BRUSH HOLDER ASSY

4B5-81840-00-00

$99.99

3

.. O-RING

3TB-81847-00-00

Unavailable

4

O-RING (437)

93210-24235-00

$7.49

5

GASKET

35C-81844-00-00

Unavailable

6

BOLT

28P-81826-00-00

Unavailable

7

CORD, STARTER MOTOR

28P-81815-00-00

$75.99

8

CAP

4B5-81871-00-00

Unavailable

9

NUT

4XV-8182A-00-00

$7.99

10

BOLT, FLANGE

95022-06030-00

$3.72