- Partiron
- OEM Parts
- Yamaha
- atv
- 2014
- YFM550DHEH (GRIZZLY 550 FI HUNTING) 1NPE 2014
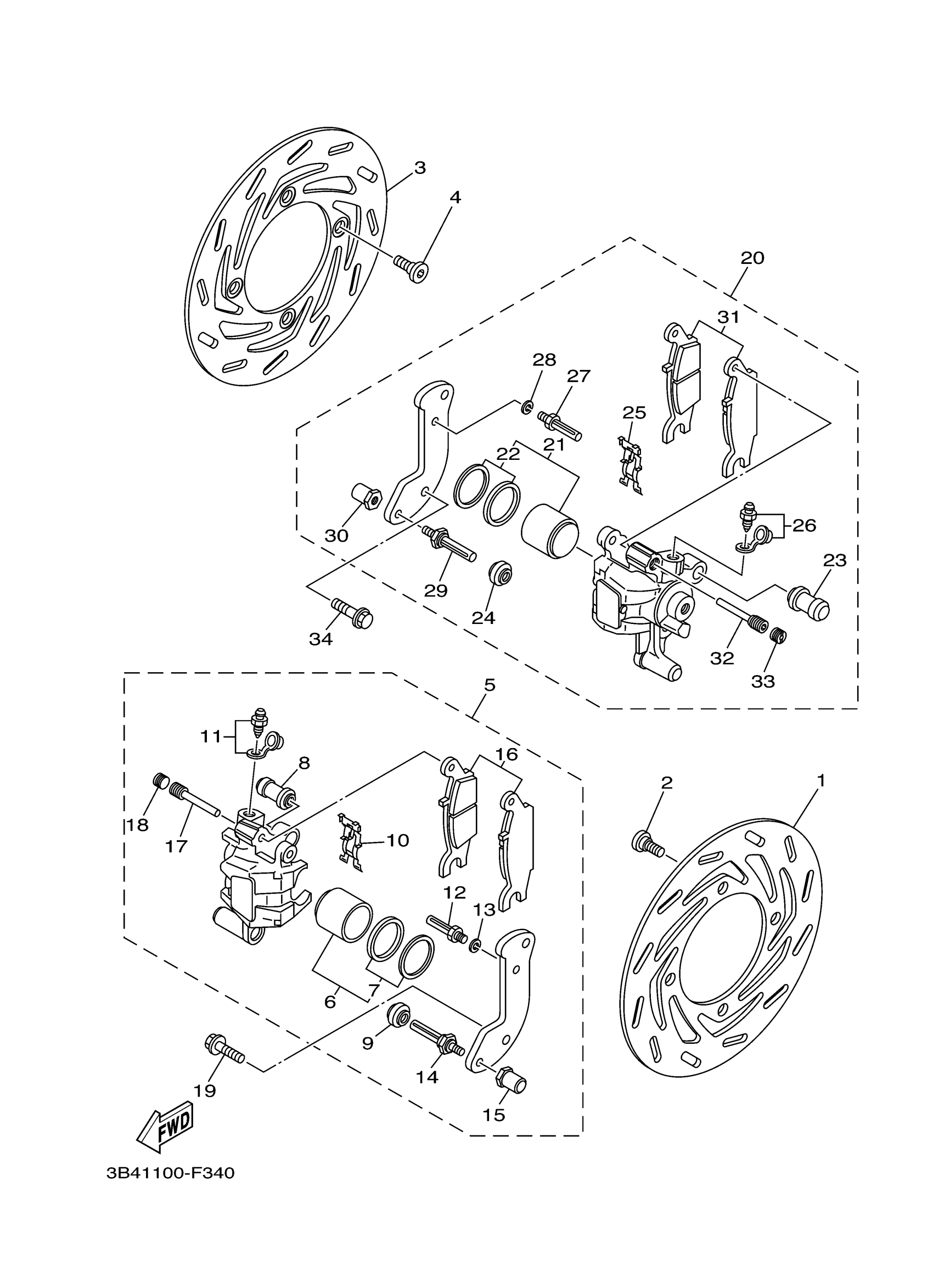
FRONT BRAKE CALIPER
Yamaha YFM550DHEH (GRIZZLY 550 FI HUNTING) 1NPE 2014 FRONT BRAKE CALIPER Diagram
#
Description
Price
1
DISC, BRAKE (LEFT)
1HP-F582T-00-00
Unavailable
3
DISC, BRAKE (LEFT)
1HP-F582T-00-00
Unavailable
13
WASHER, SPRING
1UY-25938-51-00
Unavailable
16
BRAKE PAD KIT
3B4-W0045-00-00
Unavailable
17
PIN, PAD
5DH-25933-00-00
Unavailable
18
PLUG
5DH-25916-00-00
Unavailable
19
BOLT, FLANGE
90105-08161-00
Unavailable
20
CALIPER ASSY (RIGHT)
3B4-2580U-02-00
Unavailable
28
WASHER, SPRING
1UY-25938-51-00
Unavailable
31
BRAKE PAD KIT
3B4-W0045-10-00
Unavailable
32
PIN, PAD
5DH-25933-00-00
Unavailable
33
PLUG
5DH-25916-00-00
Unavailable
34
BOLT, FLANGE
90105-08161-00
Unavailable
